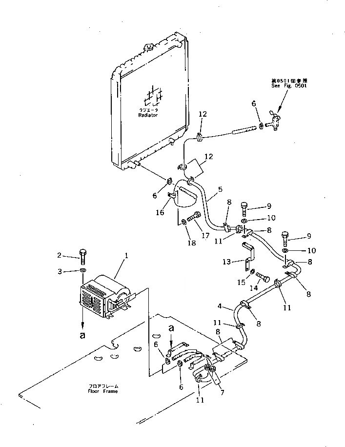
Запчасти Komatsu PC200LC-5 ОБОГРЕВАТЕЛЬ. И ТРУБЫ ЧАСТИ КОРПУСА

Схема запчастей Komatsu PC200LC-5 - ОБОГРЕВАТЕЛЬ. И ТРУБЫ ЧАСТИ КОРПУСА
FIT
1:1
100%

Артикул

Название

Примечание

Количество

G-1

20Y-977-X101

CAR HEATER GROUP

1

205-977-7110

HEATER UNIT

2

01010-51020

BOLT

3

01643-31032

WASHER

4

09483-00442

HOSE

4

09483-00443

HOSE

5

09483-00442

HOSE

5

09483-00446

HOSE

6

09480-10100

CLAMP

7

20Y-977-1130

GROMMET

8

141-06-11220

CLIP

9

01010-51225

BOLT

10

01643-31232

WASHER

11

08034-00519

BAND

12

08034-00536

BAND

13

20Y-977-1180

BRACKET

14

01010-51225

BOLT

15

01643-31232

WASHER

16

209-04-19140

CLIP

17

01010-51020

BOLT

18

01643-31032

WASHER

Выбрано товаров: 21