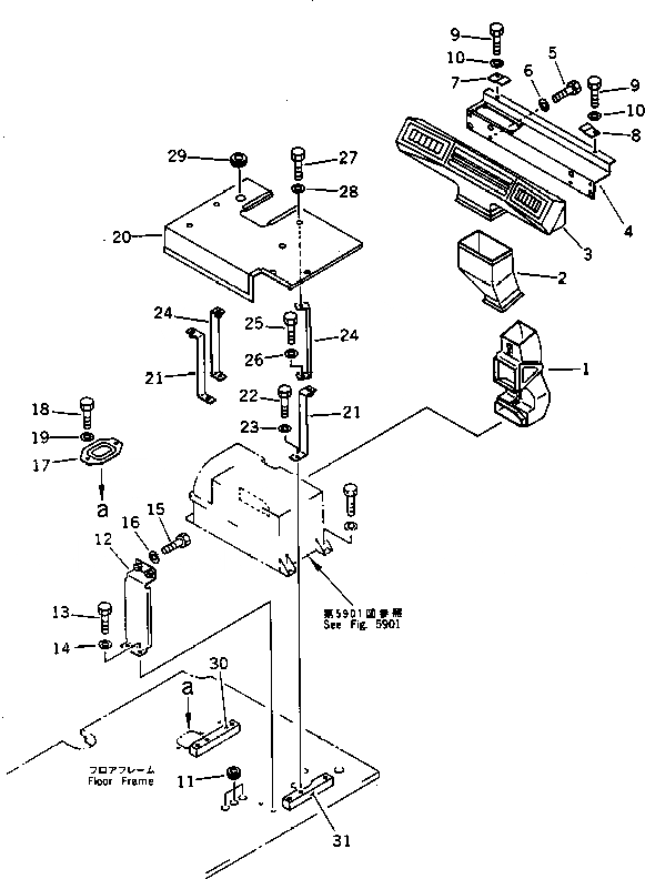
Запчасти Komatsu PC200LC-5 КОМПОНЕНТЫ КОНДИЦИОНЕРА (№79-79¤89-) ЧАСТИ КОРПУСА

Схема запчастей Komatsu PC200LC-5 - КОМПОНЕНТЫ КОНДИЦИОНЕРА (№79-79¤89-) ЧАСТИ КОРПУСА
FIT
1:1
100%

Артикул

Название

Примечание

Количество

1

205-979-6120

DUCT

2

205-979-6140

DUCT

3

205-979-6130

DUCT

4

20Y-979-1360

BRACKET

5

01010-50820

BOLT

6

01643-30823

WASHER

7

20Y-979-1320

PLATE

8

20Y-979-1370

PLATE

9

01010-50812

BOLT

10

01643-30823

WASHER

11

20Y-977-1120

CAP

12

20Y-979-1441

COVER

13

01010-51025

BOLT

14

01643-31032

WASHER

15

01010-51025

BOLT

16

01643-31032

WASHER

17

20Y-979-1420

COVER

18

01010-51020

BOLT

19

01643-31032

WASHER

20

20Y-979-1410

COVER

21

20Y-979-1450

BRACKET

22

01010-51225

BOLT

23

01643-31232

WASHER

24

20Y-979-1390

BRACKET

25

01010-51020

BOLT

26

01643-31032

WASHER

27

01010-51020

BOLT

28

01643-31032

WASHER

29

08037-02512

GROMMET

30

20Y-979-1340

SEAT (WELDED)

31

20Y-979-1350

SEAT (WELDED)

Выбрано товаров: 31