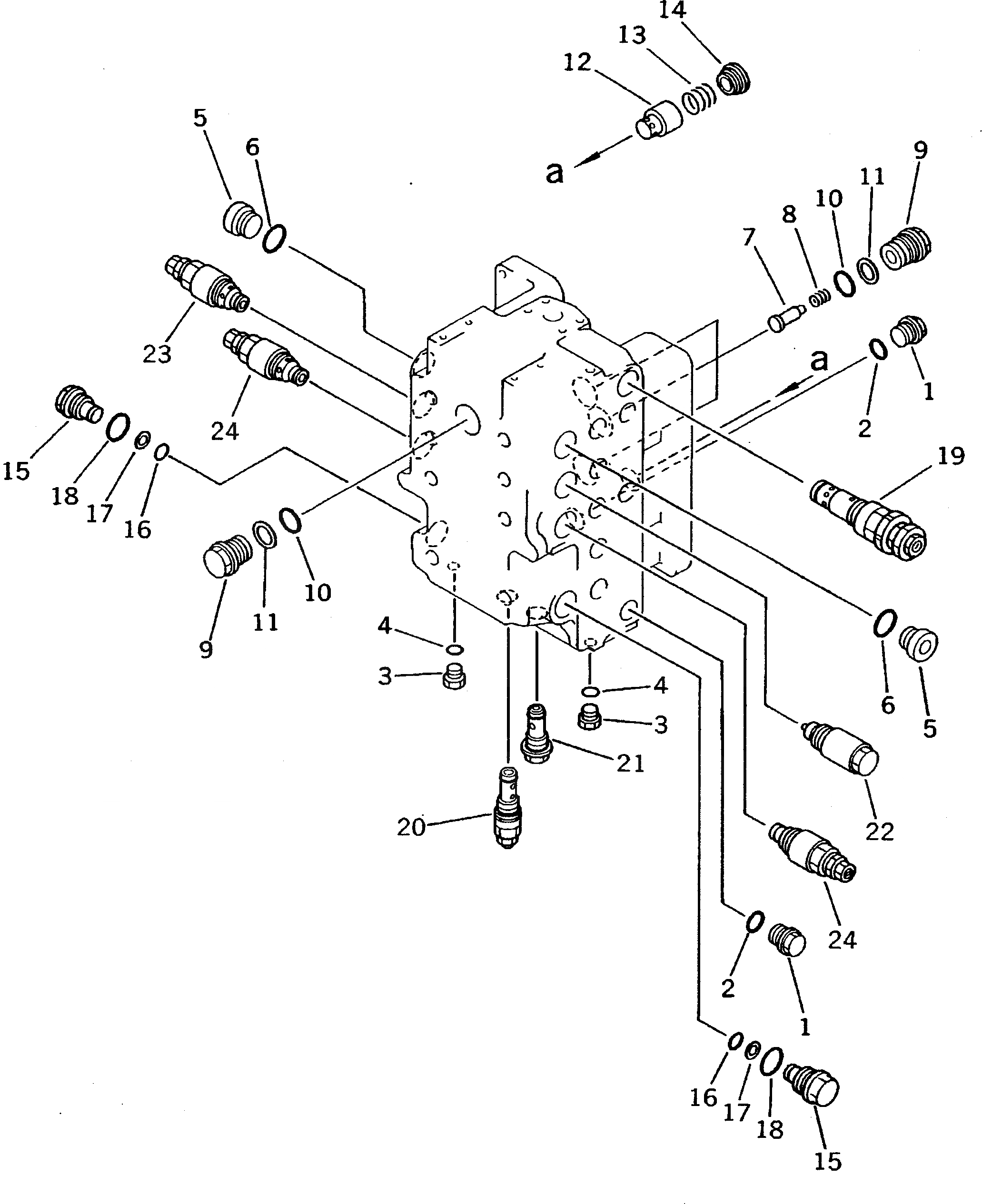
Запчасти Komatsu PC200LC-5 ГИДРАВЛ УПРАВЛЯЮЩ. КЛАПАН (/7) (ДЛЯ КЛАПАНS) УПРАВЛ-Е РАБОЧИМ ОБОРУДОВАНИЕМ

Схема запчастей Komatsu PC200LC-5 - ГИДРАВЛ УПРАВЛЯЮЩ. КЛАПАН (/7) (ДЛЯ КЛАПАНS) УПРАВЛ-Е РАБОЧИМ ОБОРУДОВАНИЕМ
FIT
1:1
100%

Артикул

Название

Примечание

Количество

|$0

709-79-24102

CONTROL VALVE ASS'Y

|$2

709-75-94102

VALVE ASS'Y

1

709-74-91860

PLUG

2

07002-12434

O-RING

3

07040-11612

PLUG

4

07002-01623

O-RING

5

709-74-91520

PLUG

6

709-25-11390

O-RING

7

709-74-92810

VALVE

8

709-75-92220

SPRING

9

709-74-92821

PLUG

10

700-93-11320

O-RING

11

700-93-11330

RING

12

709-74-92281

VALVE

13

709-74-92290

SPRING

14

709-74-92310

SEAT

15

709-74-91510

PLUG

16

07000-11009

O-RING

17

07001-01009

RING,BACK-UP

18

709-25-11390

O-RING

19

709-70-51401

VALVE ASS'Y,RELIEF

20

709-70-55200

VALVE ASS'Y,RELIEF

21

709-90-91300

ORIFICE ASS'Y

22

709-20-81201

VALVE ASS'Y,SUCTION

23

709-70-74203

VALVE ASS'Y,SUCTION AND SAFETY

24

709-70-74103

VALVE ASS'Y,SUCTION AND SAFETY

Выбрано товаров: 26