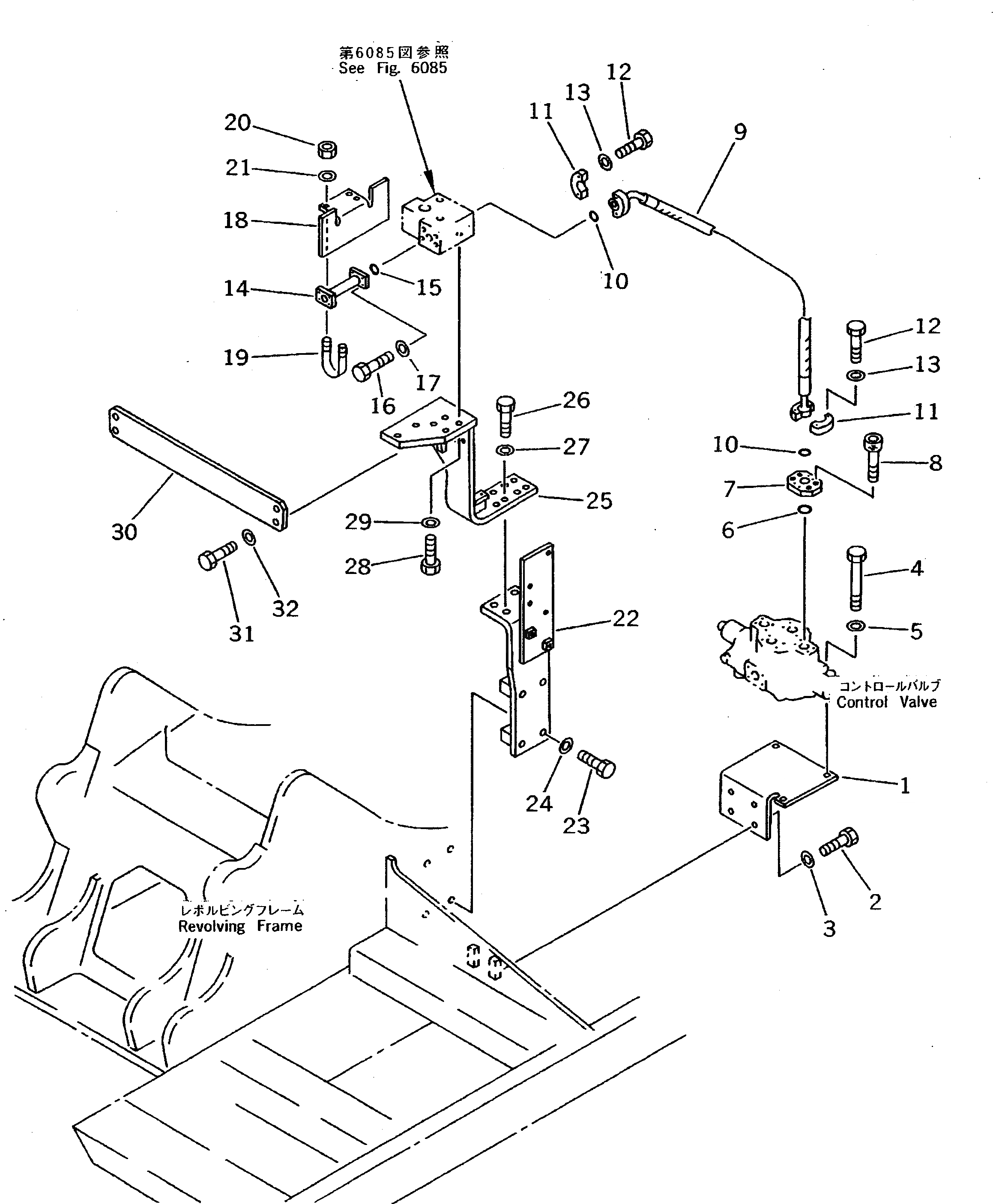
Запчасти Komatsu PC200LC-5 ДОПОЛН. ТРУБЫ (ШАССИ) (ДОПОЛН. КЛАПАН TOF CROSS V.) (ДЛЯ КЛАПАНS) (№-78¤79-88) УПРАВЛ-Е РАБОЧИМ ОБОРУДОВАНИЕМ

Схема запчастей Komatsu PC200LC-5 - ДОПОЛН. ТРУБЫ (ШАССИ) (ДОПОЛН. КЛАПАН TOF CROSS V.) (ДЛЯ КЛАПАНS) (№-78¤79-88) УПРАВЛ-Е РАБОЧИМ ОБОРУДОВАНИЕМ
FIT
1:1
100%

Артикул

Название

Примечание

Количество

G-1

20Y-970-X441

PIPING GROUP

1

20Y-970-1621

BRACKET

2

01010-51230

BOLT

3

01643-31232

WASHER

4

01010-51290

BOLT

5

01643-31232

WASHER

6

07000-13035

O-RING

7

20Y-970-2170

FLANGE

8

01252-41025

BOLT

9

20Y-970-2340

HOSE

10

07000-13025

O-RING

11

07371-30640

FLANGE

12

07372-21035

BOLT

13

01643-51032

WASHER

14

20Y-970-1970

TUBE

15

07000-13035

O-RING

16

07372-21035

BOLT

17

01643-51032

WASHER

18

20Y-970-1981

BRACKET

19

07283-23442

CLIP

20

01599-01011

NUT

21

01643-31032

WASHER

22

20Y-970-1491

BRACKET

23

01010-51695

BOLT

24

01643-31645

WASHER

25

20Y-970-1511

BRACKET

26

01010-51660

BOLT

27

01643-31645

WASHER

28

01010-51240

BOLT

29

01643-31232

WASHER

30

20Y-970-2280

FRAME

31

01010-51650

BOLT

32

21T-54-16150

WASHER

Выбрано товаров: 0