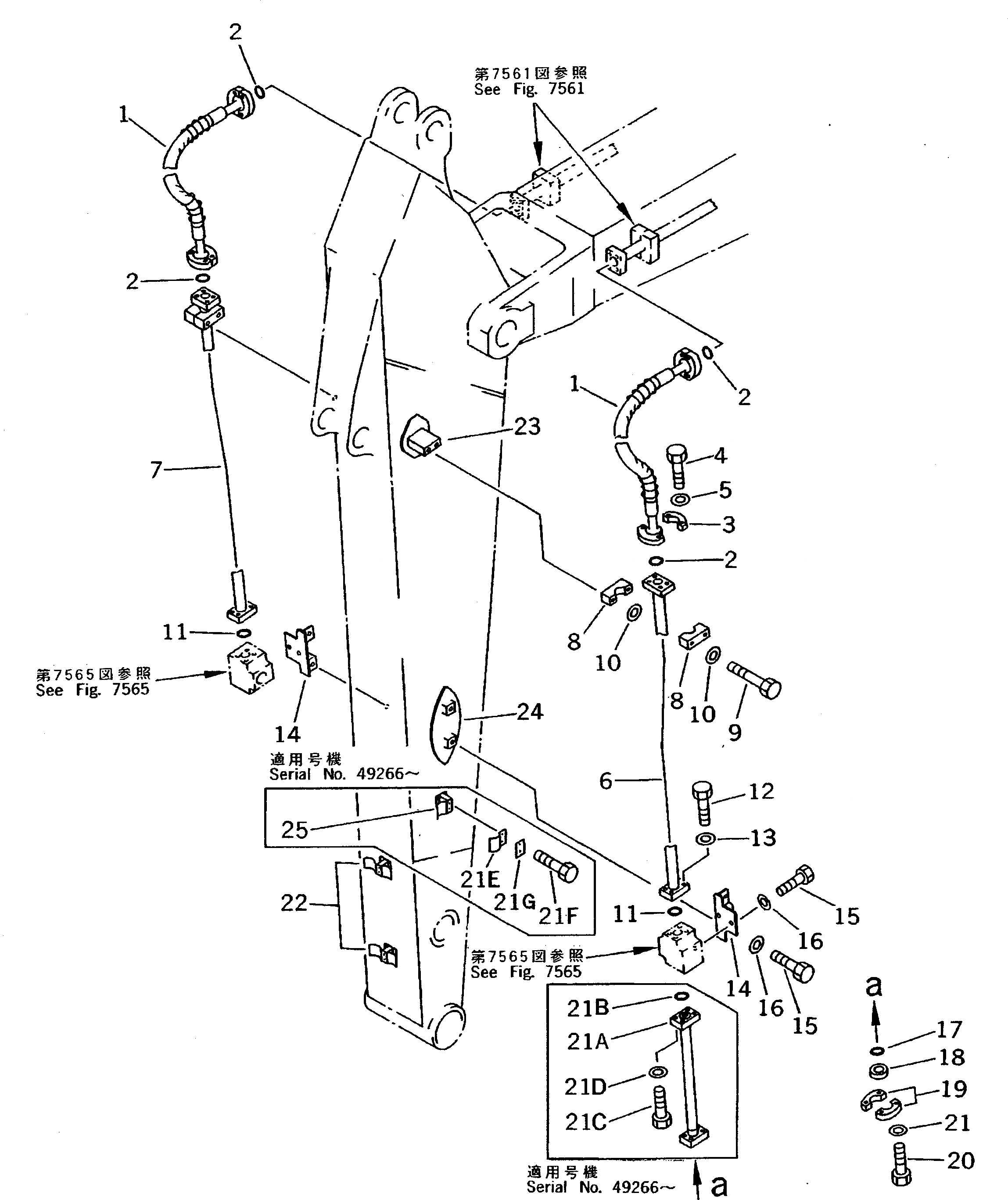
Запчасти Komatsu PC200LC-5 ДОПОЛН. ГИДРОЛИНИЯ (НАВЕСН. ОБОРУД) (РУКОЯТЬ) РАБОЧЕЕ ОБОРУДОВАНИЕ

Схема запчастей Komatsu PC200LC-5 - ДОПОЛН. ГИДРОЛИНИЯ (НАВЕСН. ОБОРУД) (РУКОЯТЬ) РАБОЧЕЕ ОБОРУДОВАНИЕ
FIT
1:1
100%

Артикул

Название

Примечание

Количество

G-1

20Y-970-X311

ARM GROUP

1

07097-21015

HOSE

2

21T-09-11460

O-RING

3

07371-31049

FLANGE

4

07372-21035

BOLT

5

01643-51032

WASHER

6

20Y-970-1371

TUBE

7

20Y-970-1371

TUBE

7

20Y-970-1381

TUBE

8

205-970-2232

CLAMP

9

01010-51280

BOLT

10

01643-51232

WASHER

11

07000-13035

O-RING

12

07372-21040

BOLT

13

01643-51032

WASHER

14

205-970-6141

BRACKET

15

01010-51635

BOLT

16

01643-31645

WASHER

17

07000-13032

O-RING

18

07378-11000

HEAD

19

07371-31049

FLANGE

20

07372-21035

BOLT

21

01643-51032

WASHER

21A

20Y-970-2810

TUBE

21B

07000-13035

O-RING

21C

07372-21040

BOLT

21D

01643-51032

WASHER

21E

207-62-31330

CLAMP

21F

01010-51235

BOLT

21G

20Y-62-13450

PLATE

22

20Y-970-1950

BRACKET (WELDED)

23

20Y-970-2510

BRACKET (WELDED)

23

205-970-1521

BRACKET (WELDED)

24

20Y-970-1930

BRACKET (WELDED)

25

207-62-31330

CLAMP (WELDED)

Выбрано товаров: 35