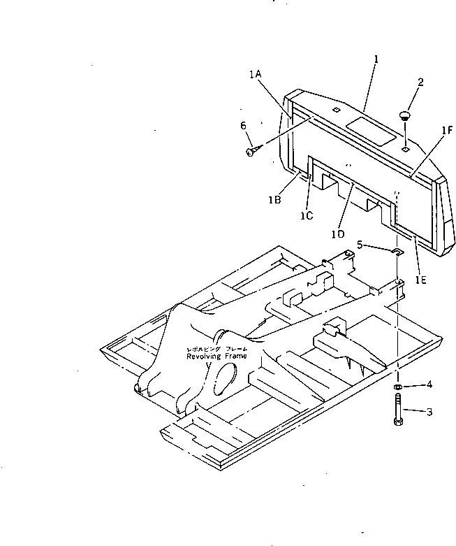
Запчасти Komatsu PC200LC-5 ПРОТИВОВЕС (PCSS) (PCLCSS)(№-88) СИСТЕМА УПРАВЛЕНИЯ И ОСНОВНАЯ РАМА

Схема запчастей Komatsu PC200LC-5 - ПРОТИВОВЕС (PCSS) (PCLCSS)(№-88) СИСТЕМА УПРАВЛЕНИЯ И ОСНОВНАЯ РАМА
FIT
1:1
100%

Артикул

Название

Примечание

Количество

1

20Y-46-11770

WEIGHT,COUNTER

1A

20Y-46-11710

SHEET

1B

20Y-46-11720

SHEET

1C

20Y-46-11730

SHEET

1D

20Y-46-11740

SHEET

1E

20Y-46-11750

SHEET

1F

20Y-46-11760

SHEET

2

20Y-46-11270

CAP

3

207-46-12141

BOLT

4

01643-32780

WASHER

5

20Y-46-11410

PLATE¤ 1.6MM

6

01370-00508

SCREW

|6

01370-00512

SCREW

Выбрано товаров: 13