Запчасти Komatsu PC200LC-5 РАМА (PCSS) (PCLCSS)(№-88) ЧАСТИ КОРПУСА

Схема запчастей Komatsu PC200LC-5 - РАМА (PCSS) (PCLCSS)(№-88) ЧАСТИ КОРПУСА
FIT
1:1
100%

Артикул

Название

Примечание

Количество

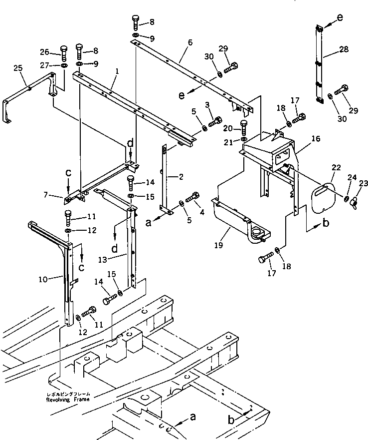
1

20Y-54-15920

FRAME

2

20Y-54-12910

FRAME

3

01010-51230

BOLT

4

01010-51225

BOLT

5

01643-31232

WASHER

6

20Y-54-15910

FRAME

7

20Y-54-15930

FRAME

8

01010-51230

BOLT

9

01643-31232

WASHER

10

20Y-54-17370

FRAME

11

01010-51230

BOLT

12

01643-31232

WASHER

13

20Y-54-15760

FRAME

14

01010-51230

BOLT

15

01643-31232

WASHER

16

20Y-54-16170

COVER

17

01010-51230

BOLT

18

01643-31232

WASHER

19

20Y-54-16140

COVER

20

01010-51230

BOLT

21

01643-31232

WASHER

22

20Y-54-16251

COVER

23

01540-20840

NUT

24

01643-20823

WASHER

25

20Y-54-15890

BRACKET

26

01010-51230

BOLT

27

01643-31232

WASHER

28

20Y-54-15491

BRACKET

29

01010-51230

BOLT

30

01643-31232

WASHER

Выбрано товаров: 0