Запчасти Komatsu PC200LC-5 КРЫШКАAND РАМА (WIHT F.O.P.S.) (№79-79¤89-) ЧАСТИ КОРПУСА

Схема запчастей Komatsu PC200LC-5 - КРЫШКАAND РАМА (WIHT F.O.P.S.) (№79-79¤89-) ЧАСТИ КОРПУСА
FIT
1:1
100%

Артикул

Название

Примечание

Количество

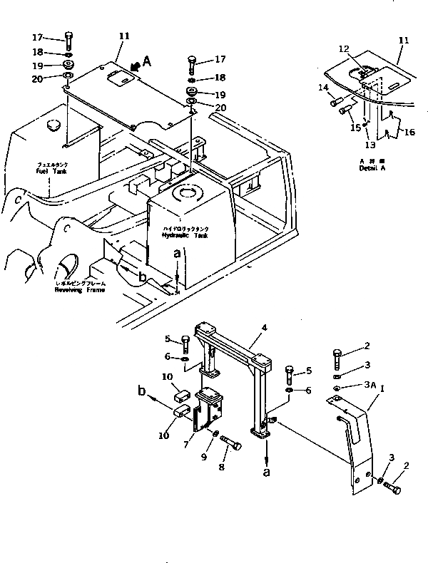
1

20Y-956-1152

COVER

2

01010-51235

BOLT

3

01643-31232

WASHER

3A

20Y-54-19930

COLLAR

4

20Y-956-1122

GUARD

|4

20Y-956-1121

GUARD

5

01010-51640

BOLT

6

01643-31645

WASHER

7

20Y-956-1130

BRACKET

8

01011-51605

BOLT

9

01643-31645

WASHER

10

20Y-956-1160

PLATE

11

20Y-54-19910

COVER

12

203-54-32230

HINGE (WELDED)

13

09463-00006

SPRING

14

04205-10614

PIN

15

04205-10618

PIN

16

04050-11610

PIN,COTTER

17

01010-51230

BOLT

18

01643-31232

WASHER

19

20Y-54-19930

COLLAR

20

20Y-54-19920

PLATE

Выбрано товаров: 22