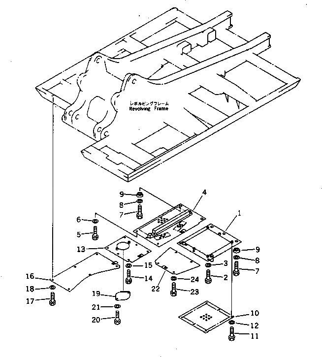
Запчасти Komatsu PC200LC-5 НИЖН. КРЫШКА (ДЛЯ ОСНОВН. РАМА И РАМА ПРАВ.) (УСИЛ.) (№-78¤79-88) ЧАСТИ КОРПУСА

Схема запчастей Komatsu PC200LC-5 - НИЖН. КРЫШКА (ДЛЯ ОСНОВН. РАМА И РАМА ПРАВ.) (УСИЛ.) (№-78¤79-88) ЧАСТИ КОРПУСА
FIT
1:1
100%

Артикул

Название

Примечание

Количество

G-1

20Y-54-X1370

COVER GROUP

1

206-54-51240

COVER

2

01010-51230

BOLT

3

01643-31232

WASHER

4

20Y-54-17420

COVER

5

01010-51230

BOLT

6

01643-31232

WASHER

7

01010-51235

BOLT

8

01643-31232

WASHER

9

20Y-54-15740

COLLAR

10

20Y-54-17410

PLATE

11

01010-51230

BOLT

12

01643-31232

WASHER

13

20Y-973-2190

COVER

14

01010-51230

BOLT

15

01643-31232

WASHER

16

20Y-973-2180

COVER

17

01010-51230

BOLT

18

01643-31232

WASHER

19

20Y-973-2210

PLATE

20

01010-51230

BOLT

21

01643-31232

WASHER

22

20Y-54-17460

COVER

23

01010-51230

BOLT

24

01643-31232

WASHER

Выбрано товаров: 25