Запчасти Komatsu PC200LC-5 ОСНОВН. КОНСТРУКЦИЯ (ДЛЯ УДЛИНН. РЫЧАГ УПРАВЛ-Е) (С ДОПОЛН. ГИДРОЛИНИЕЙ) (№79-79¤89-) ЧАСТИ КОРПУСА

Схема запчастей Komatsu PC200LC-5 - ОСНОВН. КОНСТРУКЦИЯ (ДЛЯ УДЛИНН. РЫЧАГ УПРАВЛ-Е) (С ДОПОЛН. ГИДРОЛИНИЕЙ) (№79-79¤89-) ЧАСТИ КОРПУСА
FIT
1:1
100%

Артикул

Название

Примечание

Количество

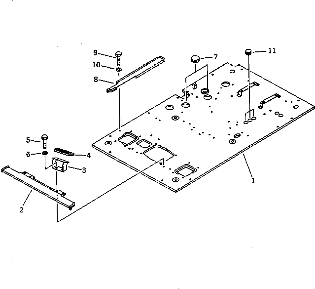
1

20Y-970-3860

FRAME

2

20Y-970-2451

COVER

3

203-43-51451

REST,FOOT

4

203-43-56450

CAP¤ PEDAL,PEDAL

5

01010-51025

BOLT

6

01643-31032

WASHER

7

09415-05022

CAP

8

20Y-06-15510

COVER

9

01010-50816

BOLT

10

01643-30823

WASHER

11

20Y-977-1120

CAP,(WITHOUT COOLER)

Выбрано товаров: 11