Запчасти Komatsu PC200LC-5 РАСПРЕДЕЛИТ. КЛАПАН¤ ЛЕВ. УПРАВЛ-Е РАБОЧИМ ОБОРУДОВАНИЕМ

Схема запчастей Komatsu PC200LC-5 - РАСПРЕДЕЛИТ. КЛАПАН¤ ЛЕВ. УПРАВЛ-Е РАБОЧИМ ОБОРУДОВАНИЕМ
FIT
1:1
100%

Артикул

Название

Примечание

Количество

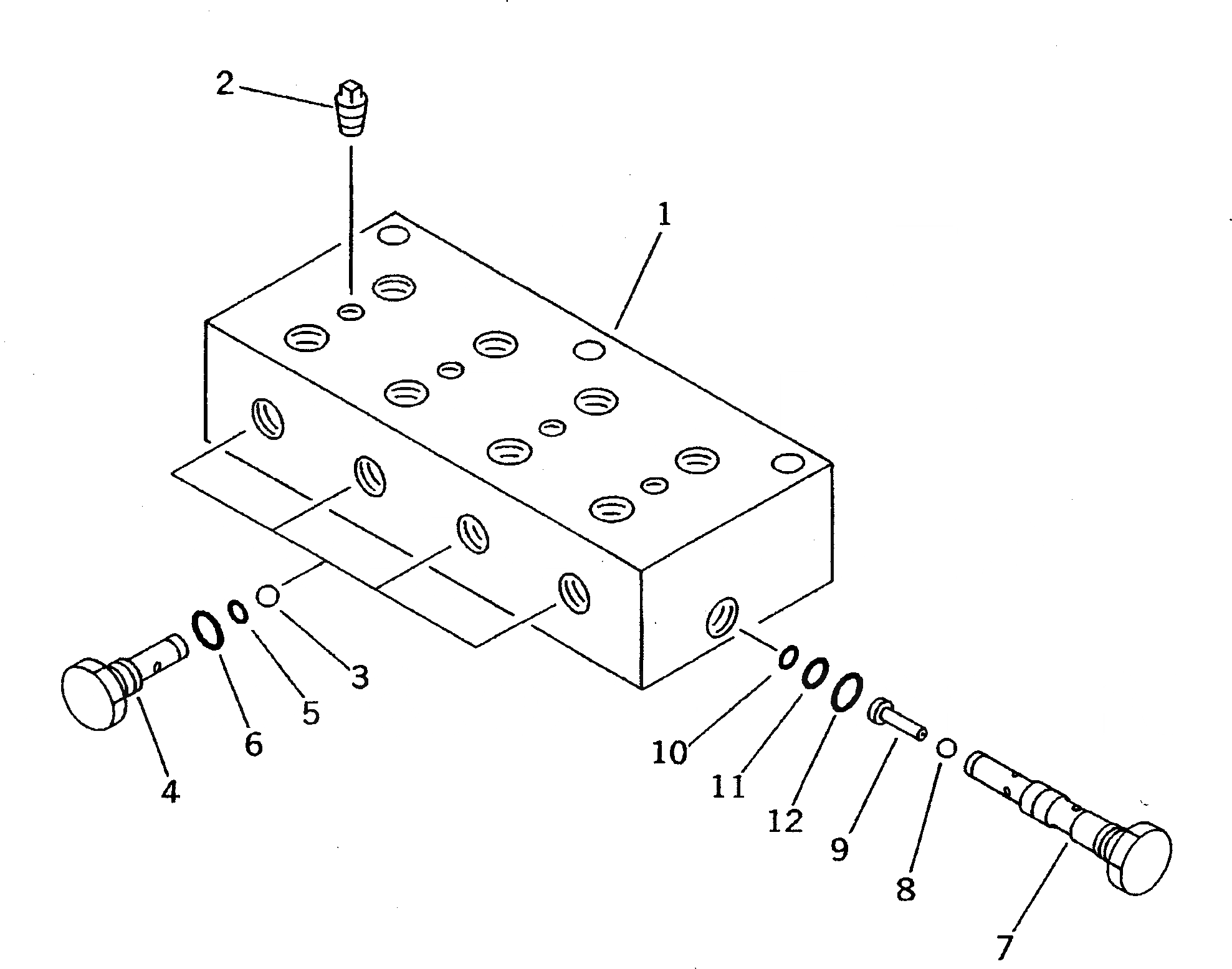
G-1

20Y-60-X1261

PUMP GROUP

|1

702-19-24000

CHECK VALVE ASS'Y,L.H.

1

702-19-12310

BLOCK

2

07042-30108

PLUG

3

04260-00952

BALL

4

702-19-12120

PLUG

5

07000-11007

O-RING

6

07002-11423

O-RING

|7

702-19-11000

SHUTTLE VALVE ASS'Y

7

PLUG

8

BALL

9

SEAT

10

07000-11007

O-RING

11

07000-11009

O-RING

12

07002-11423

O-RING

Выбрано товаров: 15