Запчасти Komatsu PC200LC-5 ДОПОЛН. ТРУБЫ (ШАССИ) (УПРАВЛЯЮЩ. КЛАПАН - CROSS КЛАПАН) (ДЛЯ КЛАПАНS) (№-78¤79-88) УПРАВЛ-Е РАБОЧИМ ОБОРУДОВАНИЕМ

Схема запчастей Komatsu PC200LC-5 - ДОПОЛН. ТРУБЫ (ШАССИ) (УПРАВЛЯЮЩ. КЛАПАН - CROSS КЛАПАН) (ДЛЯ КЛАПАНS) (№-78¤79-88) УПРАВЛ-Е РАБОЧИМ ОБОРУДОВАНИЕМ
FIT
1:1
100%

Артикул

Название

Примечание

Количество

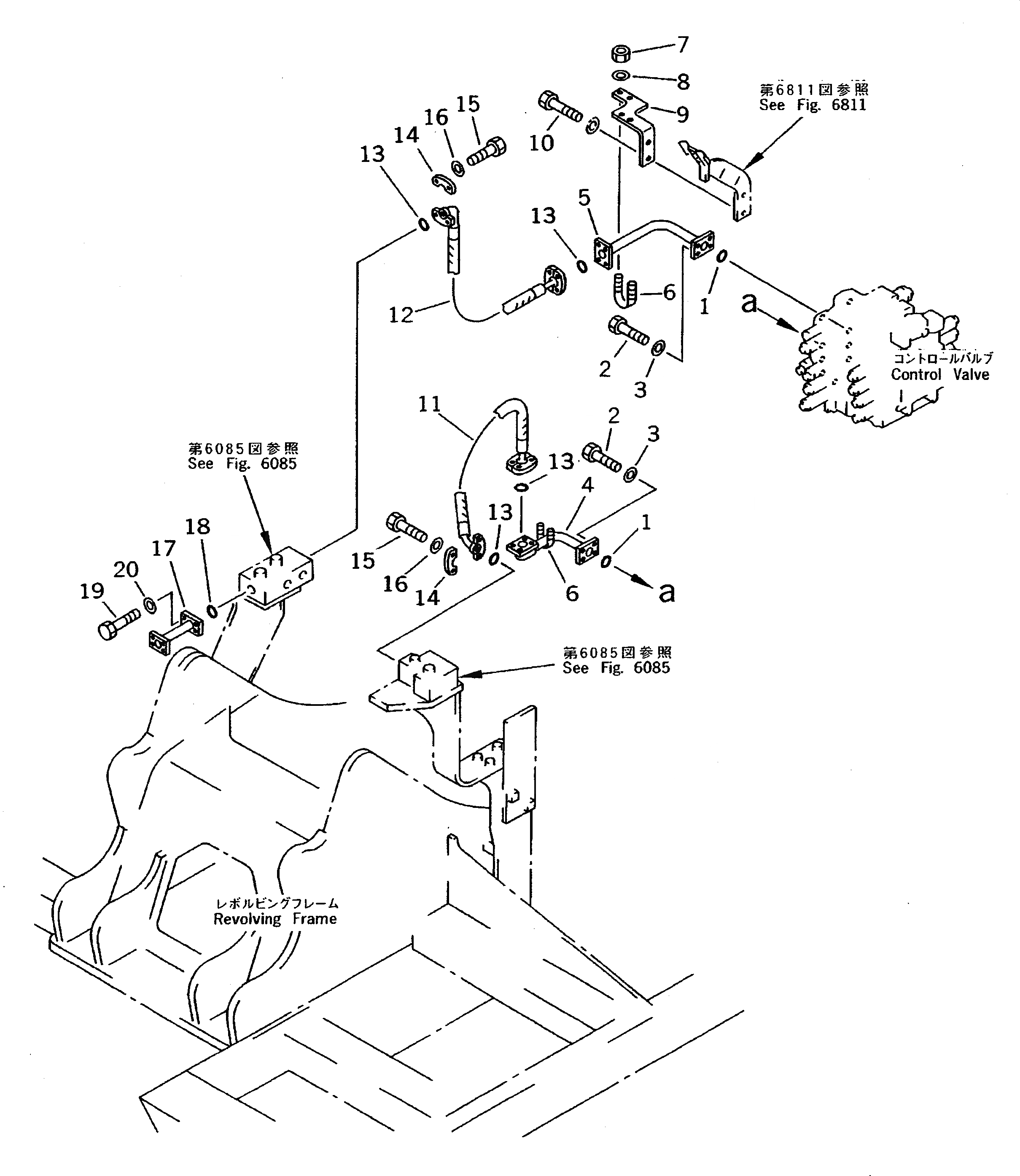
G-1

20Y-970-X441

PIPING GROUP

1

21T-09-11450

O-RING

2

07372-21035

BOLT

3

01643-51032

WASHER

4

20Y-970-1551

TUBE

5

20Y-970-1541

TUBE

6

07283-22738

CLIP

7

01599-01011

NUT

8

01643-31032

WASHER

9

20Y-970-1531

BRACKET

10

01010-51245

BOLT

11

20Y-970-1290

HOSE

|11

07097-00610

HOSE

12

20Y-970-2190

HOSE

13

07000-13025

O-RING

14

07371-30640

FLANGE

15

07372-21035

BOLT

16

01643-51032

WASHER

17

20Y-970-1970

TUBE

18

07000-13035

O-RING

19

07372-21035

BOLT

20

01643-51032

WASHER

Выбрано товаров: 22