Запчасти Komatsu PC200LC-5 КОВШ .M¤ 7MM (ВЕРТИКАЛЬН. ПАЛЕЦ) (ДЛЯ FEET УДЛИНН. РУКОЯТЬ И СТРЕЛА) РАБОЧЕЕ ОБОРУДОВАНИЕ

Схема запчастей Komatsu PC200LC-5 - КОВШ .M¤ 7MM (ВЕРТИКАЛЬН. ПАЛЕЦ) (ДЛЯ FEET УДЛИНН. РУКОЯТЬ И СТРЕЛА) РАБОЧЕЕ ОБОРУДОВАНИЕ
FIT
1:1
100%

Артикул

Название

Примечание

Количество

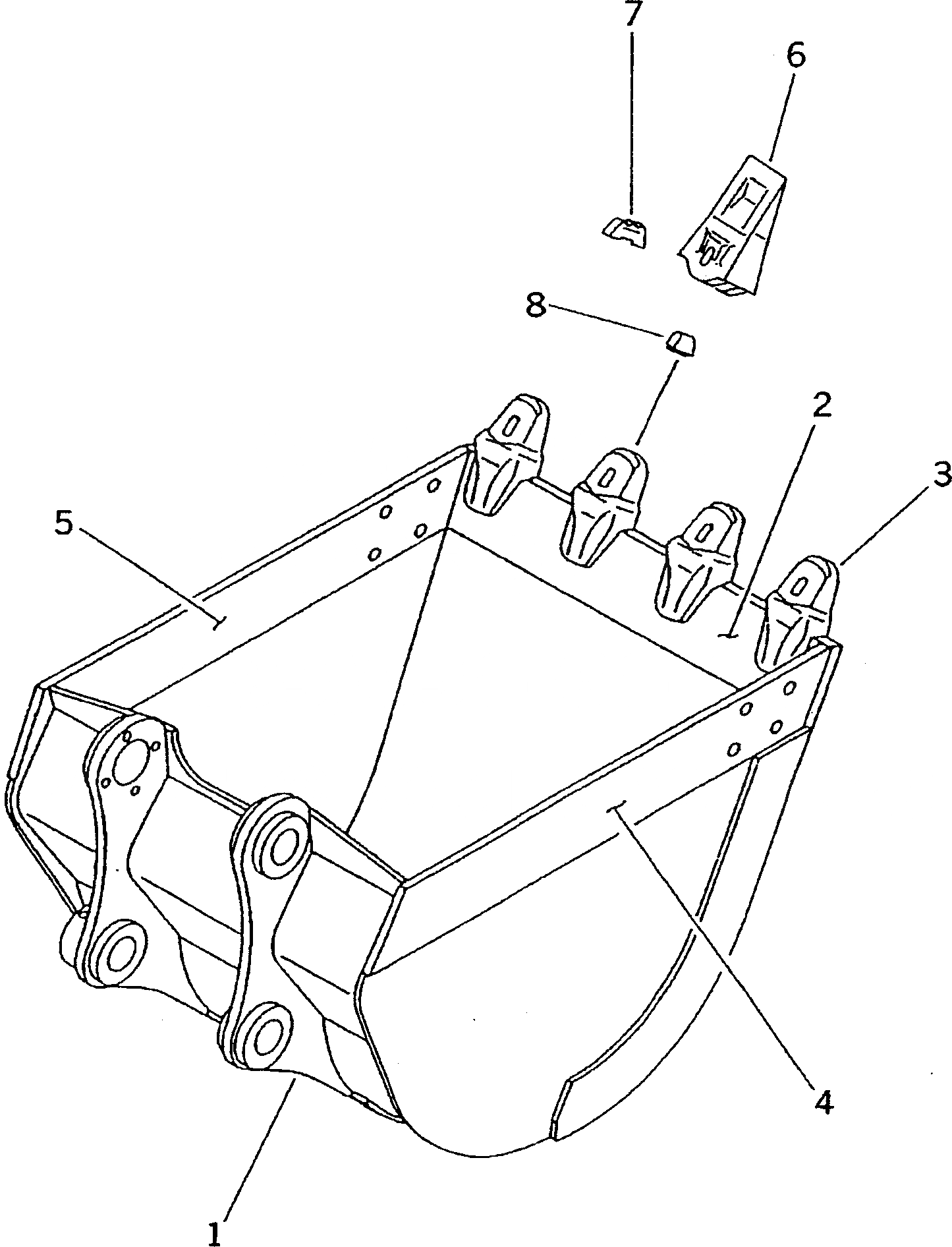
G-1

203-926-X321

BUCKET GROUP

1

203-926-5311

BUCKET

2

203-926-5330

PLATE (WELDED)

3

202-70-63190

ADAPTER (WELDED)

4

202-70-63132

PLATE,L.H. (WELDED)

5

202-70-63142

PLATE,R.H. (WELDED)

6

205-70-74272

TOOTH

7

205-70-74281

PIN

8

205-70-74291

LOCK

Выбрано товаров: 0