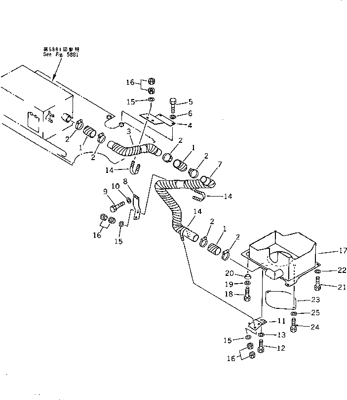
Запчасти Komatsu PC200LC-5C ПРЕДПУСКОВ. ПОДОГРЕВ (/) (МОРОЗОУСТОЙЧИВ. СПЕЦ-Я (A) СПЕЦ-Я.)(№-) ЧАСТИ КОРПУСА

Схема запчастей Komatsu PC200LC-5C - ПРЕДПУСКОВ. ПОДОГРЕВ (/) (МОРОЗОУСТОЙЧИВ. СПЕЦ-Я (A) СПЕЦ-Я.)(№-) ЧАСТИ КОРПУСА
FIT
1:1
100%

Артикул

Название

Примечание

Количество

1

20Y-01-11330

TUBE

2

208-09-11110

CLAMP

3

20Y-01-11190

DUCT

4

20Y-01-11270

BRACKET

5

01010-51230

BOLT

6

01643-31232

WASHER

7

20Y-01-11240

DUCT

8

20Y-01-11260

BRACKET

9

01010-51230

BOLT

10

01643-31232

WASHER

11

20Y-01-11280

BRACKET

12

01010-51225

BOLT

13

01643-31232

WASHER

14

07283-25150

CLIP

15

01643-31032

WASHER

16

01582-11008

NUT

17

20Y-01-11250

COVER

18

01010-51230

BOLT

19

01643-31232

WASHER

20

208-54-57180

COLLAR

21

01010-51225

BOLT

22

01643-31232

WASHER

23

207-54-51440

PLATE

24

01010-51225

BOLT

25

01643-31232

WASHER

Выбрано товаров: 25