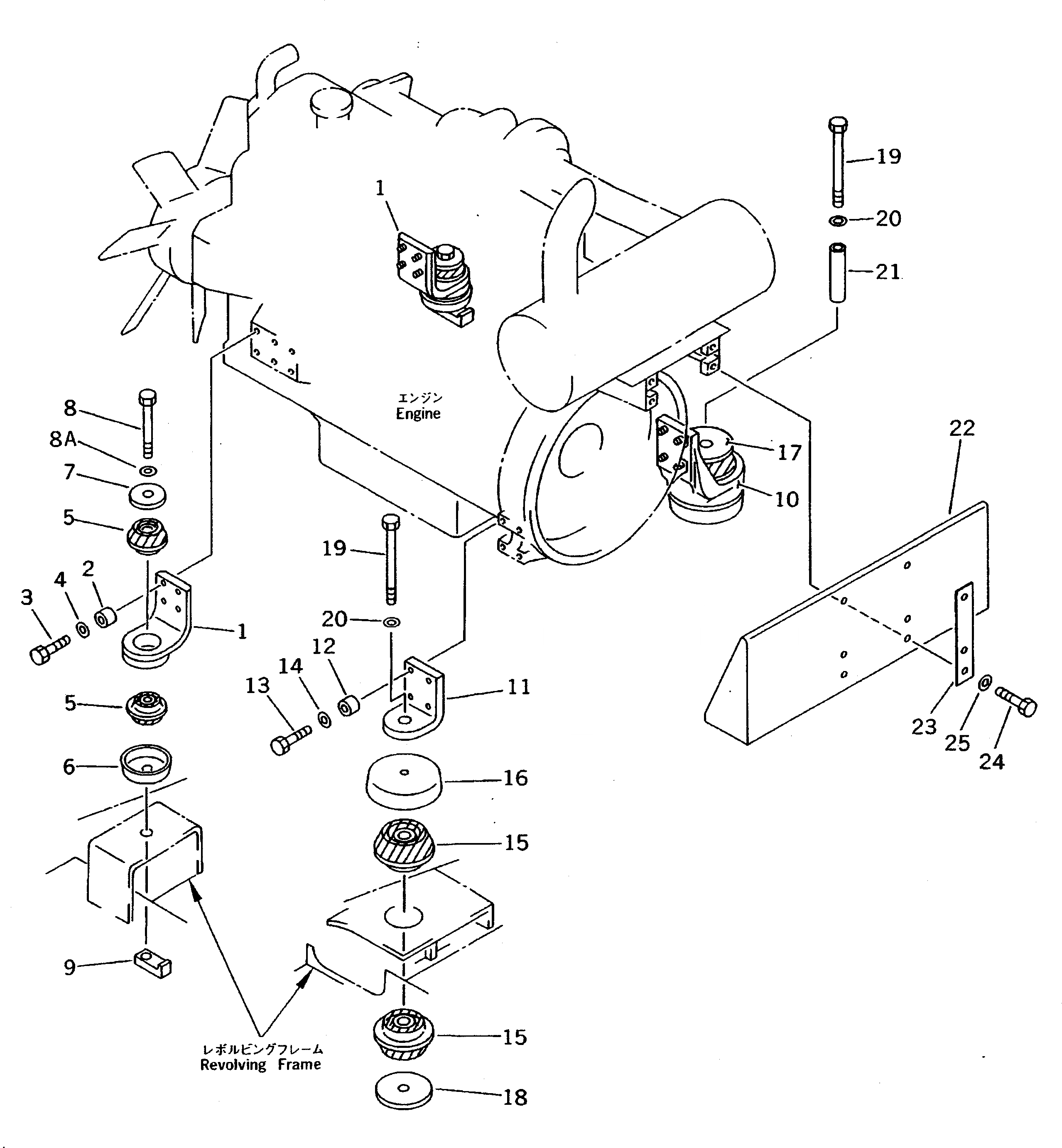
Запчасти Komatsu PC200LC-5C КРЕПЛЕНИЕ ДВИГАТЕЛЯ КОМПОНЕНТЫ ДВИГАТЕЛЯ И ЭЛЕКТРИКА

Схема запчастей Komatsu PC200LC-5C - КРЕПЛЕНИЕ ДВИГАТЕЛЯ КОМПОНЕНТЫ ДВИГАТЕЛЯ И ЭЛЕКТРИКА
FIT
1:1
100%

Артикул

Название

Примечание

Количество

1

20Y-01-12121

SUPPORT

2

6631-11-5630

SPACER

3

01010-51055

BOLT

4

01643-31032

WASHER

5

20Y-01-12210

CUSHION

6

20Y-01-12140

STOPPER

7

20Y-01-11141

WASHER

8

20Y-01-12270

BOLT

8

01011-51640

BOLT

8A

01643-31645

WASHER

9

20Y-01-12150

NUT

10

20Y-01-12112

BRACKET

11

20Y-01-12190

BRACKET

12

6131-22-3750

BOSS

13

01010-51265

BOLT

14

01643-31232

WASHER

15

20Y-01-12221

CUSHION

16

20Y-01-12160

STOPPER

17

20Y-01-12180

WASHER

18

20Y-01-12170

WASHER

19

20Y-01-12280

BOLT

19

01011-51685

BOLT

20

01643-31645

WASHER

21

20Y-01-12250

SPACER

22

20Y-54-16113

COVER

23

20Y-54-16281

PLATE

24

01010-51230

BOLT

25

01643-31232

WASHER

Выбрано товаров: 28