Запчасти Komatsu PC200LC-5C ПЕРЕКЛЮЧАТЕЛЬ И METER (ДЛЯ УДЛИНН. РЫЧАГ УПРАВЛ-Е)(№9-) КОМПОНЕНТЫ ДВИГАТЕЛЯ И ЭЛЕКТРИКА

Схема запчастей Komatsu PC200LC-5C - ПЕРЕКЛЮЧАТЕЛЬ И METER (ДЛЯ УДЛИНН. РЫЧАГ УПРАВЛ-Е)(№9-) КОМПОНЕНТЫ ДВИГАТЕЛЯ И ЭЛЕКТРИКА
FIT
1:1
100%

Артикул

Название

Примечание

Количество

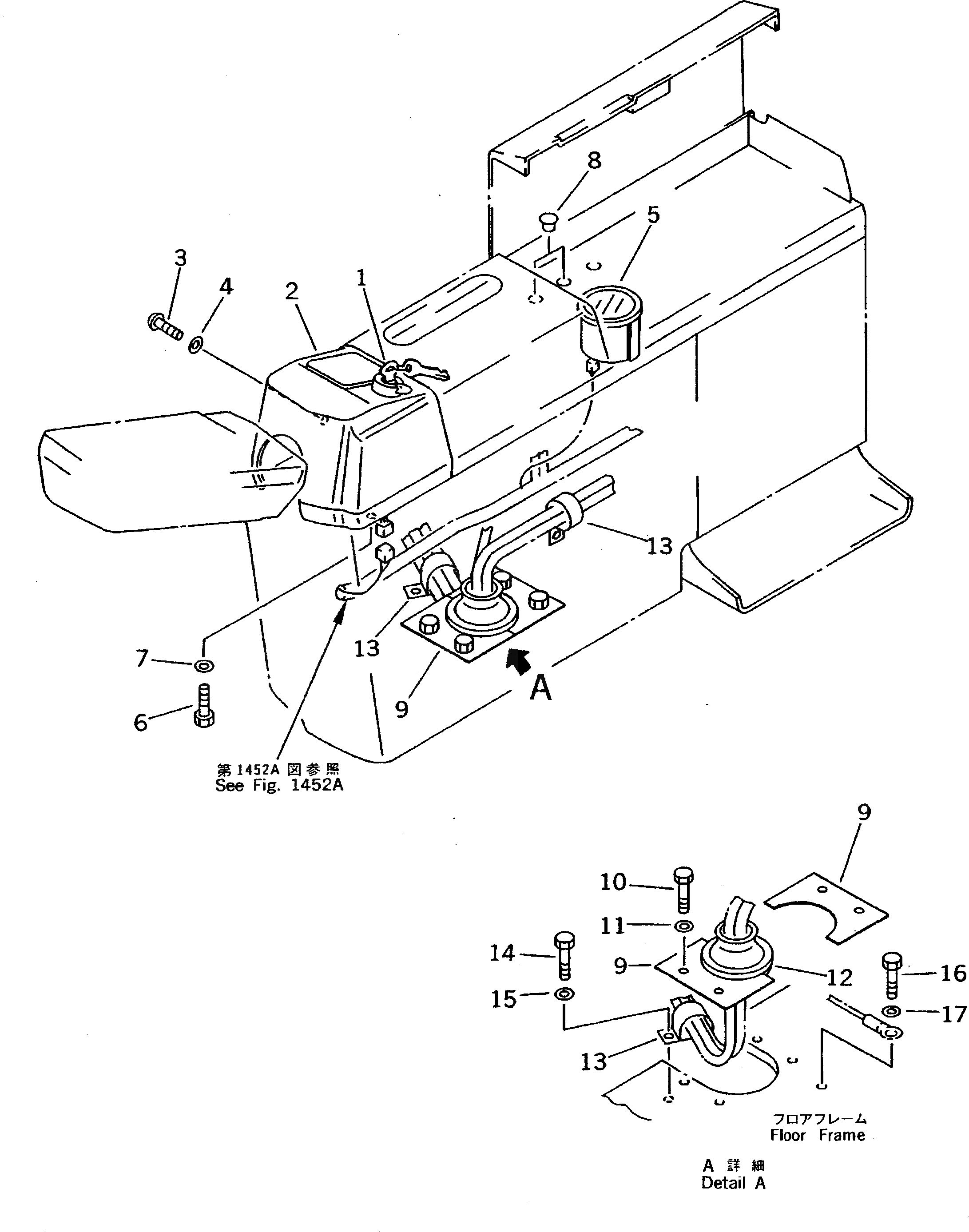
1

20Y-06-16240

SWITCH ASS'Y

2

20Y-54-19530

COVER

3

01220-70616

SCREW

4

01642-40608

WASHER

5

203-06-56240

SERVICE METER ASS'Y

6

01010-50612

BOLT

7

01641-20608

WASHER

8

203-06-56530

PLUG

9

20Y-06-15360

PLATE

10

01010-51225

BOLT

11

01643-31232

WASHER

12

21T-06-71870

GROMMET

13

208-06-19170

CLIP

14

01010-51225

BOLT

15

01643-31232

WASHER

16

01010-51020

BOLT

17

01643-31032

WASHER

Выбрано товаров: 17