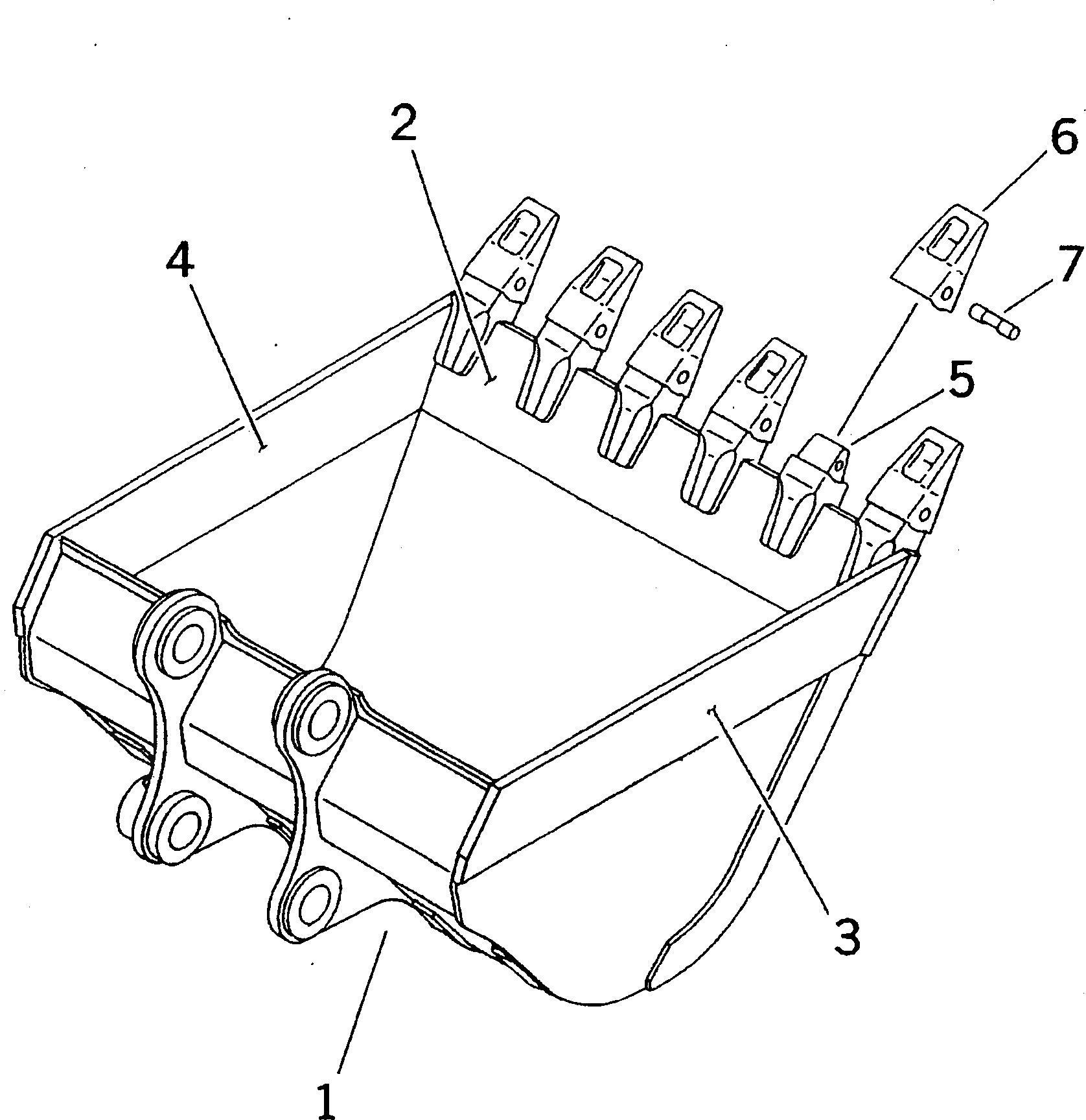
Запчасти Komatsu PC200LC-5C КОВШ .M¤ MM (ГОРИЗОНТАЛЬН. ПАЛЕЦ)(№98-) РАБОЧЕЕ ОБОРУДОВАНИЕ (ЭКСКАВАТ.)

Схема запчастей Komatsu PC200LC-5C - КОВШ .M¤ MM (ГОРИЗОНТАЛЬН. ПАЛЕЦ)(№98-) РАБОЧЕЕ ОБОРУДОВАНИЕ (ЭКСКАВАТ.)
FIT
1:1
100%

Артикул

Название

Примечание

Количество

1

20Y-920-2450

BUCKET

2

20Y-920-1420

PLATE (WELDED)

3

20Y-920-2A50

PLATE,L.H. (WELDED)

4

20Y-920-2A90

PLATE,R.H. (WELDED)

5

20Y-70-14520

ADAPTER (WELDED)

6

205-70-19570

TOOTH

7

09244-02496

PIN

Выбрано товаров: 7