Запчасти Komatsu PC200LC-5C ЭЛЕКТРИКА (ЭЛЕКТРОПРОВОДКА) (КАБИНА - ДАТЧИК И КЛАПАН)(№9-88) КОМПОНЕНТЫ ДВИГАТЕЛЯ И ЭЛЕКТРИКА

Схема запчастей Komatsu PC200LC-5C - ЭЛЕКТРИКА (ЭЛЕКТРОПРОВОДКА) (КАБИНА - ДАТЧИК И КЛАПАН)(№9-88) КОМПОНЕНТЫ ДВИГАТЕЛЯ И ЭЛЕКТРИКА
FIT
1:1
100%

Артикул

Название

Примечание

Количество

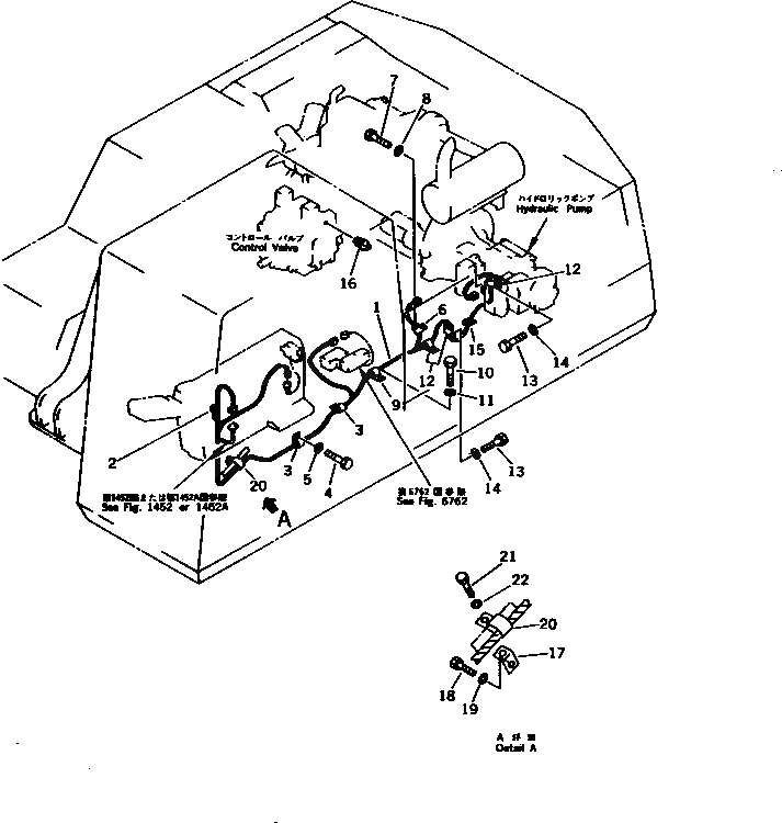
1

20Y-06-17250

WIRING HARNESS

2

08020-00000

DIODE

3

08036-02514

CLIP

4

01010-51225

BOLT

5

01643-31232

WASHER

6

08036-01214

CLIP

7

01010-51225

BOLT

8

01643-31232

WASHER

9

08035-02514

CLIP

10

01010-51225

BOLT

11

01643-31232

WASHER

12

08036-01214

CLIP

13

01010-51018

BOLT

14

01643-31032

WASHER

15

08034-00519

BAND

16

07042-30108

PLUG

17

17M-49-15260

BRACKET

18

01010-51225

BOLT

19

01643-31232

WASHER

20

20Y-06-15330

CLIP

21

01010-51225

BOLT

22

01643-31232

WASHER

Выбрано товаров: 22