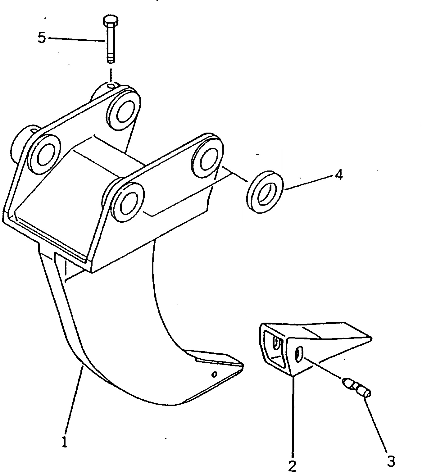
Запчасти Komatsu PC200LC-5C ОДНОЗУБЫЙ РЫХЛИТЕЛЬ РАБОЧЕЕ ОБОРУДОВАНИЕ (ЭКСКАВАТ.)

Схема запчастей Komatsu PC200LC-5C - ОДНОЗУБЫЙ РЫХЛИТЕЛЬ РАБОЧЕЕ ОБОРУДОВАНИЕ (ЭКСКАВАТ.)
FIT
1:1
100%

Артикул

Название

Примечание

Количество

G-1

20Y-950-X101

RIPPER GROUP

|$2

205-950-0012

RIPPER ASS'Y

1

RIPPER

2

175-78-31230

POINT

3

09244-02508

PIN

4

205-70-74410

COLLAR

5

205-70-73190

BOLT

Выбрано товаров: 7