Запчасти Komatsu PC200LC-5C ЭЛЕКТРИКА (ЭЛЕКТРОПРОВОДКА) (КАБИНА - ДВИГАТЕЛЬ Э/ПРОВОДКА)(№-8) КОМПОНЕНТЫ ДВИГАТЕЛЯ И ЭЛЕКТРИКА

Схема запчастей Komatsu PC200LC-5C - ЭЛЕКТРИКА (ЭЛЕКТРОПРОВОДКА) (КАБИНА - ДВИГАТЕЛЬ Э/ПРОВОДКА)(№-8) КОМПОНЕНТЫ ДВИГАТЕЛЯ И ЭЛЕКТРИКА
FIT
1:1
100%

Артикул

Название

Примечание

Количество

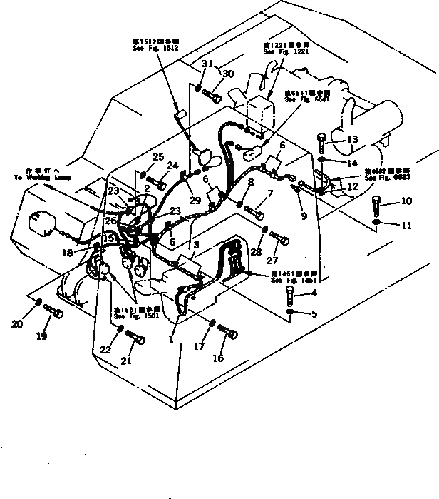
1

20Y-06-17140

WIRING HARNESS

2

20Y-06-15150

FUSIBLE LINK,FUSE

3

08036-02514

CLIP

4

01010-51225

BOLT

5

01643-31232

WASHER

6

08036-01814

CLIP

7

01010-51225

BOLT

8

01643-31232

WASHER

9

08053-00912

CLIP

10

01010-51225

BOLT

11

01643-31232

WASHER

12

08036-01814

CLIP

13

01010-51225

BOLT

14

01643-31232

WASHER

15

08036-02514

CLIP

16

01010-51225

BOLT

17

01643-31232

WASHER

18

08036-01814

CLIP

19

01010-51225

BOLT

20

01643-31232

WASHER

21

01010-50820

BOLT

22

01643-30823

WASHER

23

08036-01214

CLIP

24

01010-51225

BOLT

25

01643-31232

WASHER

26

08036-01214

CLIP

27

01010-51225

BOLT

28

01643-31232

WASHER

29

08036-01214

CLIP

30

01010-51016

BOLT

31

01643-31032

WASHER

Выбрано товаров: 0