Запчасти Komatsu PC200LC-5C СМАЗ. GUN(№89-) МАРКИРОВКА¤ ИНСТРУМЕНТ И РЕМКОМПЛЕКТЫ

Схема запчастей Komatsu PC200LC-5C - СМАЗ. GUN(№89-) МАРКИРОВКА¤ ИНСТРУМЕНТ И РЕМКОМПЛЕКТЫ
FIT
1:1
100%

Артикул

Название

Примечание

Количество

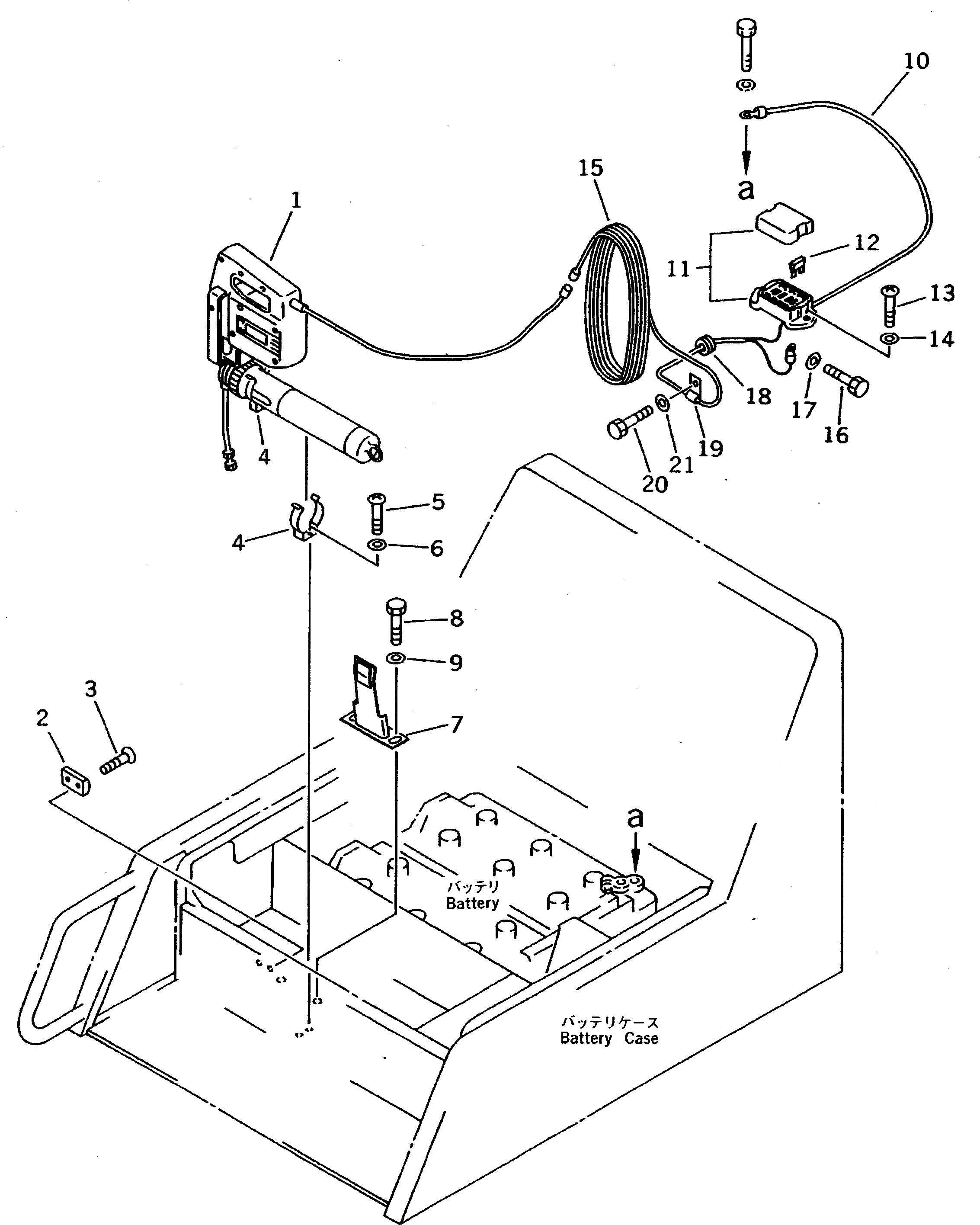
1

208-98-31211

PUMP ASS'Y

2

207-54-52421

PLATE

3

01224-40625

SCREW

4

208-54-31280

CLAMP

5

01220-40610

SCREW

6

01641-20608

WASHER

7

207-54-52431

BRACKET

8

01010-51220

BOLT

9

01643-31232

WASHER

10

207-06-51220

WIRING HARNESS

11

205-06-71480

FUSE BOX

12

22W-06-13160

FUSE, 20A

13

01220-40620

SCREW

14

01643-30623

WASHER

15

208-06-31140

WIRING HARNESS

16

01010-50610

BOLT

17

01643-30623

WASHER

18

08037-02512

GROMMET

19

08036-21214

CLIP

20

01010-51220

BOLT

21

01643-31232

WASHER

Выбрано товаров: 21