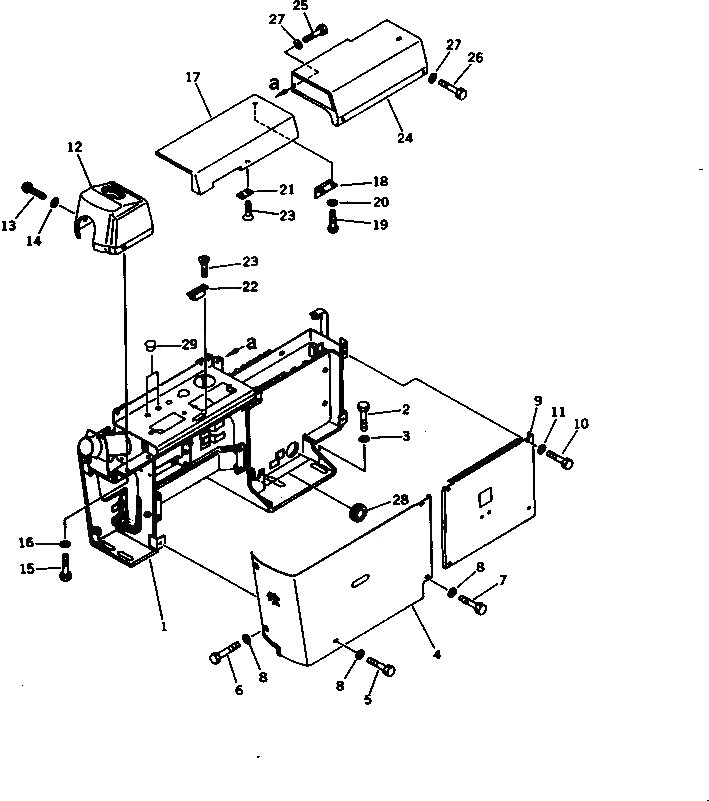
Запчасти Komatsu PC200LC-5C ПАНЕЛЬ СТОЙКА (ДЛЯ УДЛИНН. РЫЧАГ УПРАВЛ-Е)(№-8) СИСТЕМА УПРАВЛЕНИЯ И ОСНОВНАЯ РАМА

Схема запчастей Komatsu PC200LC-5C - ПАНЕЛЬ СТОЙКА (ДЛЯ УДЛИНН. РЫЧАГ УПРАВЛ-Е)(№-8) СИСТЕМА УПРАВЛЕНИЯ И ОСНОВНАЯ РАМА
FIT
1:1
100%

Артикул

Название

Примечание

Количество

G-1

20Y-43-X2010

CONTROL GROUP

1

20Y-43-15241

BRACKET

2

01010-51225

BOLT

3

20Y-54-12670

WASHER

4

20Y-43-15292

COVER

5

01010-50616

BOLT

6

20Y-43-15460

BOLT

7

01010-50620

BOLT

8

01643-30623

WASHER

9

20Y-43-15272

COVER

10

01010-50616

BOLT

11

01643-30623

WASHER

12

203-54-56521

COVER

13

01220-70616

SCREW

14

01642-40608

WASHER

15

01010-50612

BOLT

16

01641-20608

WASHER

17

203-54-56531

COVER

18

20Y-06-16350

HINGE

19

01220-70510

SCREW

20

01642-40508

WASHER

21

203-54-51550

PLATE

22

203-54-51540

MAGNET

23

01224-40306

SCREW

24

20Y-43-15281

COVER

25

01010-50616

BOLT

26

01010-50620

BOLT

27

01643-30623

WASHER

28

08037-03614

GROMMET

29

203-06-56530

PLUG

Выбрано товаров: 30