Запчасти Komatsu PC200LC-5S ПРОТИВОВЕС СИСТЕМА УПРАВЛЕНИЯ И ОСНОВНАЯ РАМА

Схема запчастей Komatsu PC200LC-5S - ПРОТИВОВЕС СИСТЕМА УПРАВЛЕНИЯ И ОСНОВНАЯ РАМА
FIT
1:1
100%

Артикул

Название

Примечание

Количество

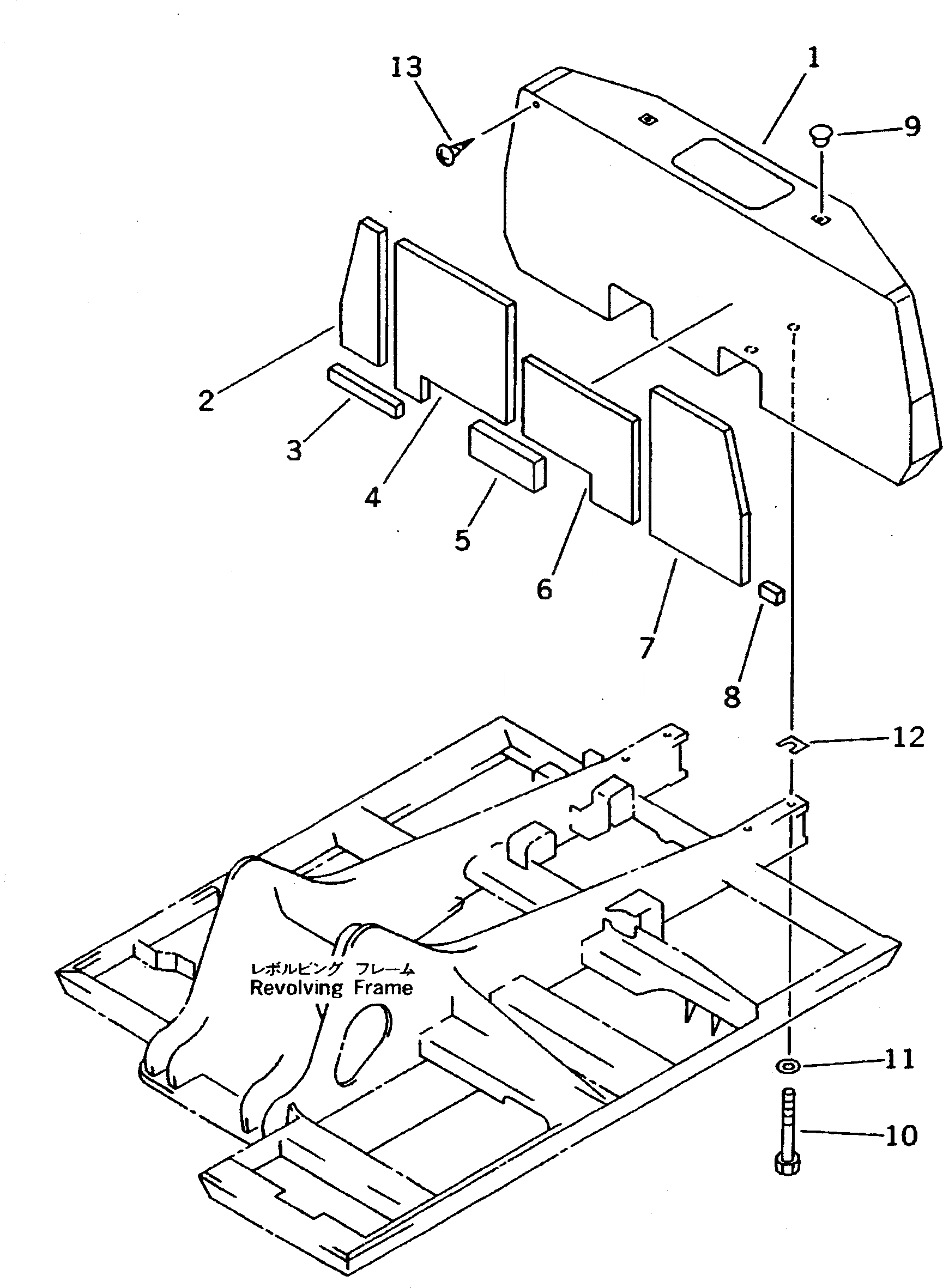
1

20Y-46-11550

WEIGHT,COUNTER

2

20Y-54-21660

SHEET

3

20Y-54-21670

SHEET

4

20Y-54-21691

SHEET

5

20Y-54-23450

SHEET

6

20Y-54-23430

SHEET

7

20Y-54-23440

SHEET

8

206-54-51570

SHEET

9

20Y-46-11270

CAP

10

207-46-12141

BOLT

11

01643-32780

WASHER

12

20Y-46-11410

PLATE¤ 1.6MM

13

20Y-46-71160

PLATE

14

01370-00508

SCREW

Выбрано товаров: 14