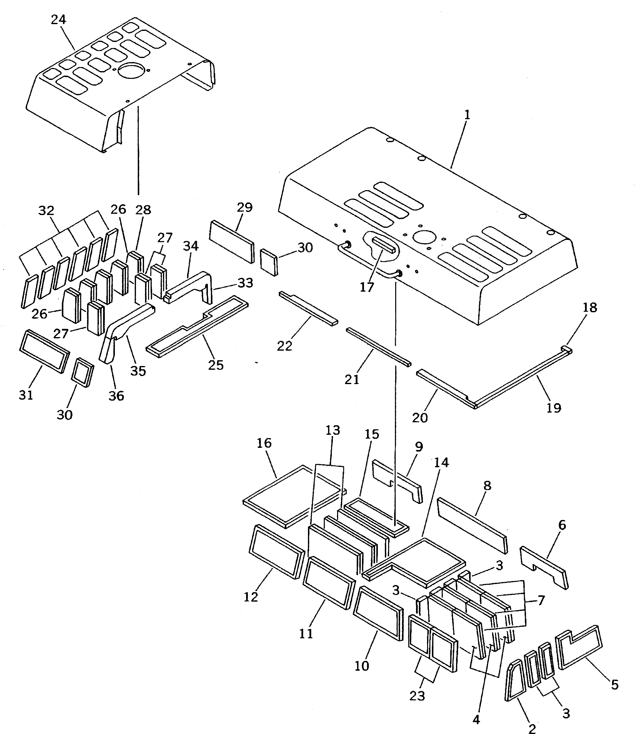
Запчасти Komatsu PC200LC-5S КАПОТ (/) ЧАСТИ КОРПУСА

Схема запчастей Komatsu PC200LC-5S - КАПОТ (/) ЧАСТИ КОРПУСА
FIT
1:1
100%

Артикул

Название

Примечание

Количество

1

20Y-54-15873

COVER

2

20Y-54-22730

FELT

3

20Y-54-21880

FELT

4

20Y-54-22760

FELT

5

20Y-54-22680

FELT

6

20Y-54-22190

FELT

7

20Y-54-22770

FELT

8

20Y-54-22180

FELT

9

20Y-54-22170

FELT

10

20Y-54-22690

FELT

11

20Y-54-22640

FELT

12

20Y-54-22710

FELT

13

20Y-54-22620

FELT

14

20Y-54-22750

FELT

15

20Y-54-22650

FELT

16

20Y-54-22740

FELT

17

20Y-54-22781

SHEET

|17

20Y-54-22780

SHEET

18

20Y-54-22791

SHEET

|18

20Y-54-22790

SHEET

19

20Y-54-22821

SHEET

|19

20Y-54-22820

SHEET

20

20Y-54-22811

SHEET

|20

20Y-54-22810

SHEET

21

20Y-54-22671

SHEET

|21

20Y-54-22670

SHEET

22

20Y-54-22661

SHEET

|22

20Y-54-22660

SHEET

23

20Y-54-22720

FELT

24

20Y-54-21851

COVER

25

20Y-54-21930

FELT

26

20Y-54-22950

FELT

27

20Y-54-21910

FELT

28

20Y-54-22940

FELT

29

20Y-54-22930

FELT

30

20Y-54-21920

FELT

31

20Y-54-21981

FELT

32

20Y-54-21880

FELT

33

20Y-54-21940

SHEET

34

20Y-54-21970

SHEET

35

20Y-54-21960

SHEET

36

20Y-54-21950

SHEET

Выбрано товаров: 42