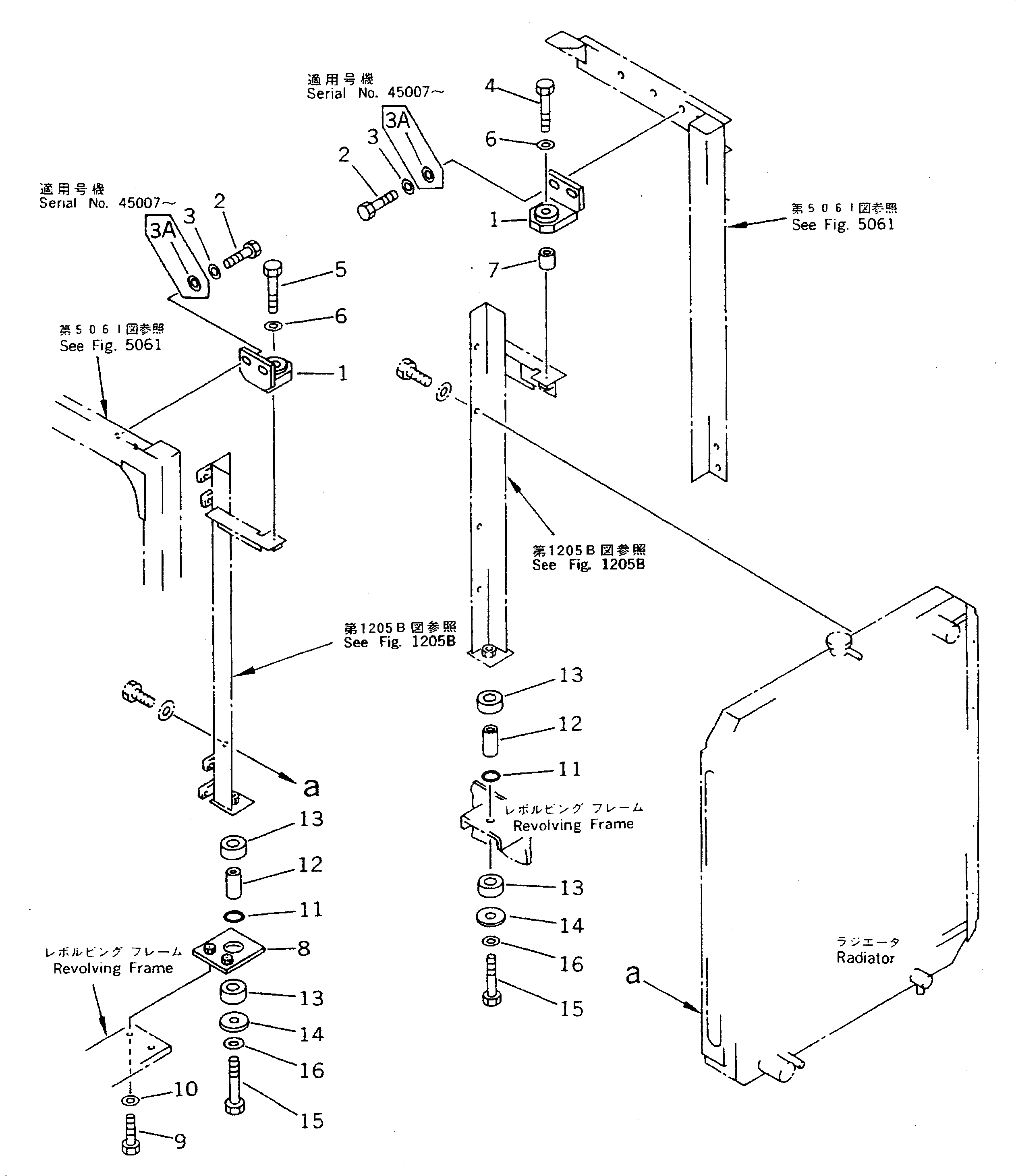
Запчасти Komatsu PC200LC-5S КРЕПЛЕНИЕ РАДИАТОРА КОМПОНЕНТЫ ДВИГАТЕЛЯ И ЭЛЕКТРИКА

Схема запчастей Komatsu PC200LC-5S - КРЕПЛЕНИЕ РАДИАТОРА КОМПОНЕНТЫ ДВИГАТЕЛЯ И ЭЛЕКТРИКА
FIT
1:1
100%

Артикул

Название

Примечание

Количество

1

205-03-71310

DAMPER ASS'Y

2

01010-51230

BOLT

3

01643-31232

WASHER

3A

124-54-26540

WASHER

4

01010-51280

BOLT

5

01010-51265

BOLT

6

01643-31232

WASHER

7

144-947-3490

SPACER

8

20Y-03-11190

BRACKET

9

01010-51230

BOLT

10

01643-31232

WASHER

11

07000-03022

O-RING

12

20Y-03-11220

COLLAR

13

206-03-51230

CUSHION

14

20Y-03-11210

PLATE

15

01010-51265

BOLT

16

01643-31232

WASHER

Выбрано товаров: 17