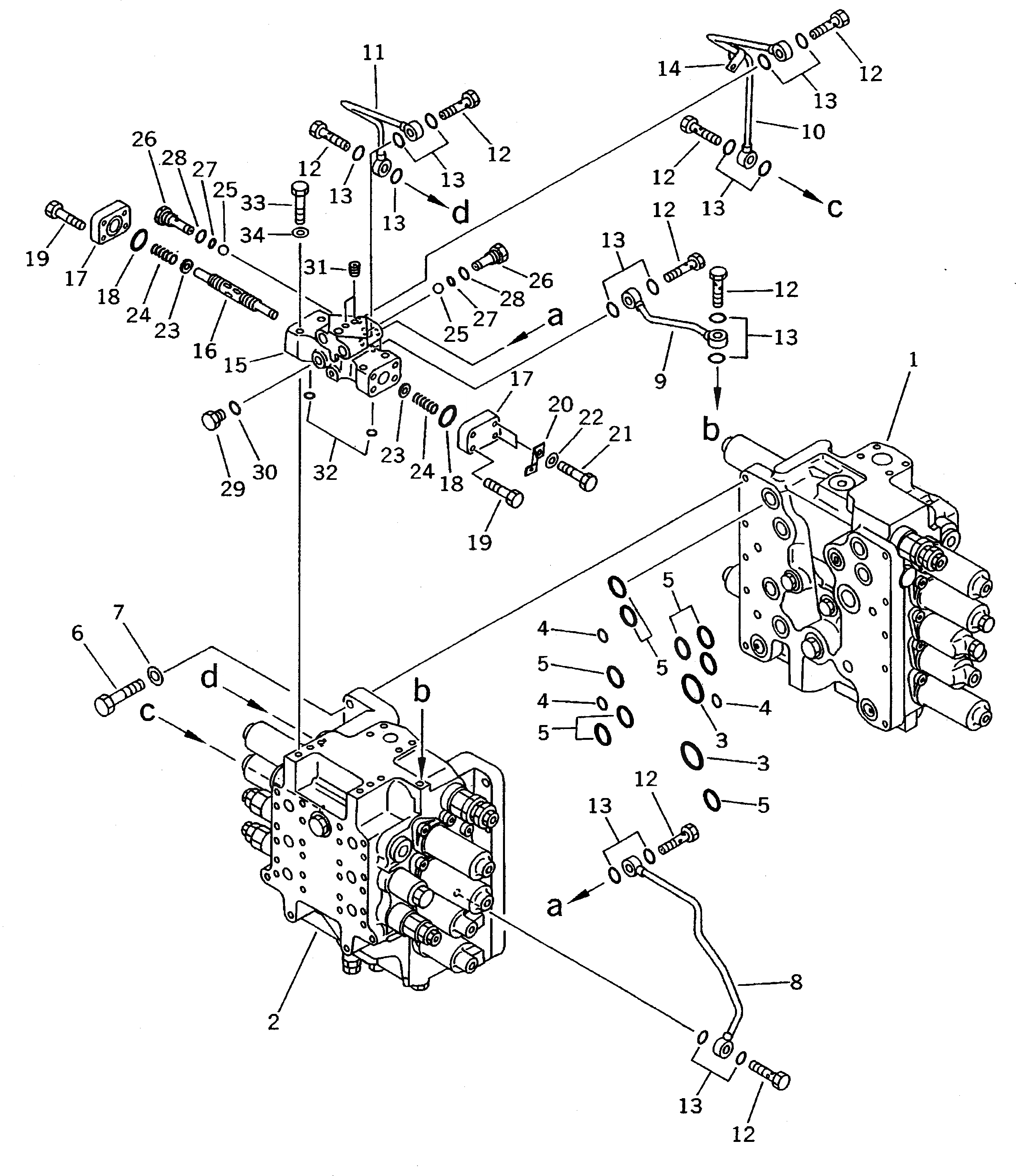
Запчасти Komatsu PC200LC-5T ГИДРАВЛ УПРАВЛЯЮЩ. КЛАПАН (+) (/7) УПРАВЛ-Е РАБОЧИМ ОБОРУДОВАНИЕМ

Схема запчастей Komatsu PC200LC-5T - ГИДРАВЛ УПРАВЛЯЮЩ. КЛАПАН (+) (/7) УПРАВЛ-Е РАБОЧИМ ОБОРУДОВАНИЕМ
FIT
1:1
100%

Артикул

Название

Примечание

Количество

|$0

709-79-22303

CONTROL VALVE ASS'Y

1

709-75-92600

VALVE ASS'Y

2

709-74-92602

VALVE ASS'Y

3

07000-13038

O-RING

4

07000-02010

O-RING

5

07000-13028

O-RING

6

01010-51040

BOLT

7

01643-31032

WASHER

8

709-79-11132

TUBE

9

709-79-11112

TUBE

10

709-79-11143

TUBE

11

709-79-11122

TUBE

12

709-79-11190

BOLT

13

07000-02011

O-RING

|$15

709-70-91800

SHUTTLE VALVE ASS'Y

15

BODY

16

SPOOL

17

709-70-91150

PLATE

18

07000-13025

O-RING

19

01010-50825

BOLT

20

08053-01512

CLIP

21

01010-50830

BOLT

22

01643-30823

WASHER

23

706-73-77140

PLATE

24

709-70-91130

SPRING

25

04260-00952

BALL

26

709-70-91220

PLUG

27

07000-01007

O-RING

28

07002-01423

O-RING

29

07040-11409

PLUG

30

07002-01423

O-RING

31

07043-70108

PLUG

32

07000-11009

O-RING

33

01010-50855

BOLT

34

01643-30823

WASHER

Выбрано товаров: 35