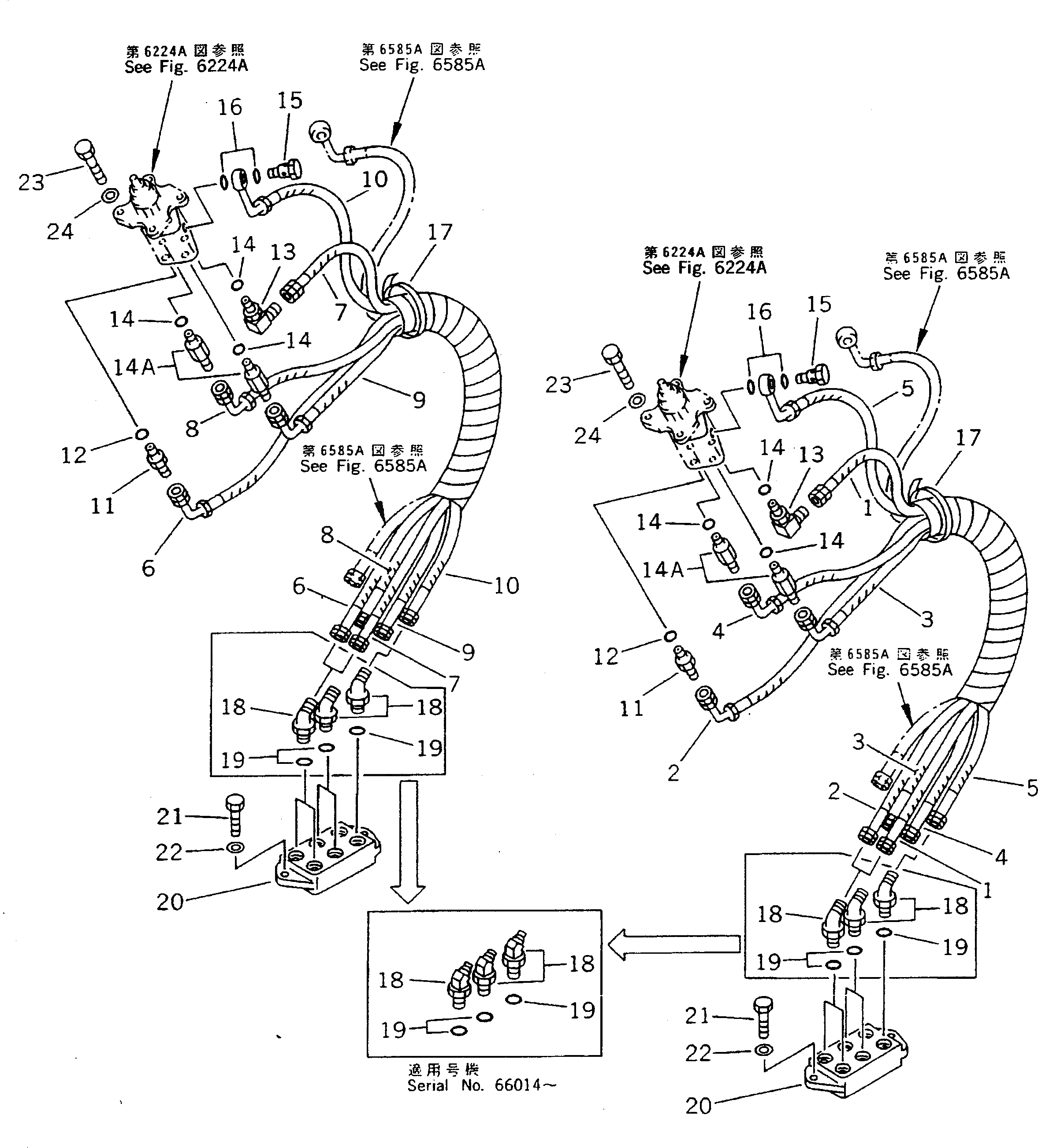
Запчасти Komatsu PC200LC-5T P.P.C. КЛАПАН ТРУБЫ (КЛАПАН PPCTO/FROM БЛОК) (ДЛЯ WRIST УПРАВЛ-Е) УПРАВЛ-Е РАБОЧИМ ОБОРУДОВАНИЕМ

Схема запчастей Komatsu PC200LC-5T - P.P.C. КЛАПАН ТРУБЫ (КЛАПАН PPCTO/FROM БЛОК) (ДЛЯ WRIST УПРАВЛ-Е) УПРАВЛ-Е РАБОЧИМ ОБОРУДОВАНИЕМ
FIT
1:1
100%

Артикул

Название

Примечание

Количество

1

20Y-62-18640

HOSE, 720MM,(YELLOW)

2

20Y-62-18920

HOSE, 800MM,(WHITE)

3

20Y-62-18660

HOSE, 730MM,(BLACK)

4

20Y-62-18660

HOSE, 730MM,(BROWN)

5

20Y-62-18650

HOSE, 685MM,(RED)

6

20Y-62-18920

HOSE, 800MM,(WHITE)

7

20Y-62-18640

HOSE, 720MM,(YELLOW)

8

20Y-62-18660

HOSE, 730MM,(BLACK)

9

20Y-62-18660

HOSE, 730MM,(BROWN)

10

20Y-62-18650

HOSE, 685MM,(RED)

11

205-62-55270

NIPPLE

12

07002-01423

O-RING

13

207-62-33920

ELBOW

14

07002-01423

O-RING

14A

207-62-33950

NIPPLE

15

20Y-62-18910

BOLT

16

07000-02018

O-RING

17

08034-00823

BAND

18

20Y-62-18880

ELBOW

18

07236-10315

ELBOW

19

07002-02034

O-RING

20

20Y-62-16221

BLOCK

21

01010-51035

BOLT

22

01643-51032

WASHER

23

01010-50825

BOLT

24

01643-30823

WASHER

Выбрано товаров: 26