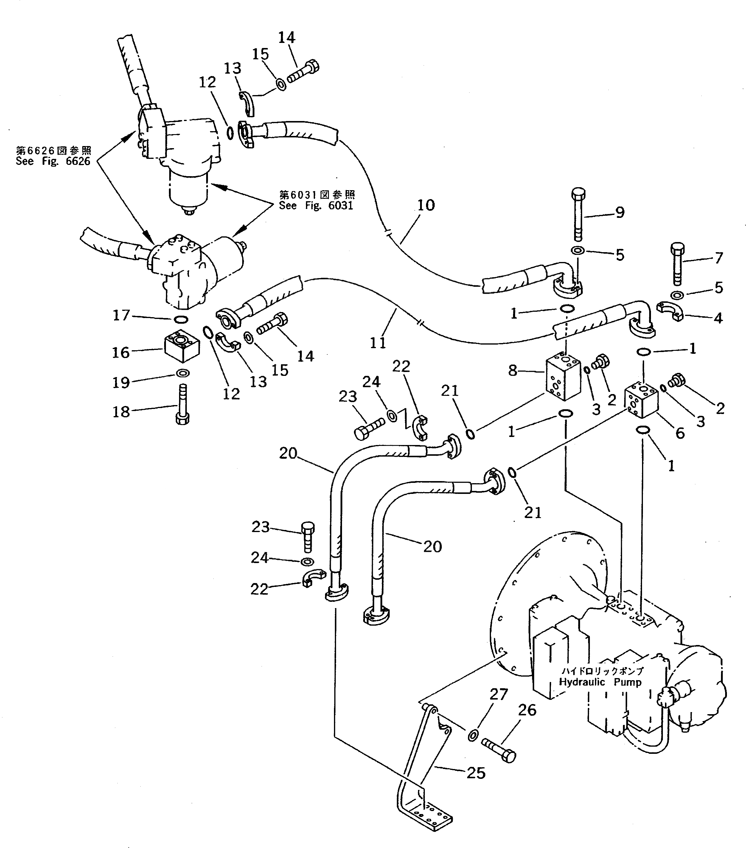
Запчасти Komatsu PC200LC-5T НАСОС - УПРАВЛЯЮЩ. КЛАПАН ТРУБЫ (/) (С ФИЛЬТР) (EXCEPTJAPAN) УПРАВЛ-Е РАБОЧИМ ОБОРУДОВАНИЕМ

Схема запчастей Komatsu PC200LC-5T - НАСОС - УПРАВЛЯЮЩ. КЛАПАН ТРУБЫ (/) (С ФИЛЬТР) (EXCEPT  JAPAN) УПРАВЛ-Е РАБОЧИМ ОБОРУДОВАНИЕМ
FIT
1:1
100%

Артикул

Название

Примечание

Количество

1

21T-09-11460

O-RING

2

07040-11007

PLUG

3

07002-11023

O-RING

4

07371-31049

FLANGE

5

01643-51032

WASHER

G-1

20Y-62-X1351

LINE FILTER GROUP

6

20Y-62-15121

BLOCK

7

113-22-21230

BOLT

8

20Y-62-18150

BLOCK

9

20Y-62-18160

BOLT

10

20Y-62-18230

HOSE

11

20Y-62-18210

HOSE

12

21T-09-11460

O-RING

13

07371-31049

FLANGE

14

07372-21035

BOLT

15

01643-51032

WASHER

16

207-62-51880

BLOCK

17

21T-09-11470

O-RING

18

01010-51070

BOLT

19

01643-31032

WASHER

20

20Y-62-11980

HOSE

21

21T-09-11430

O-RING

22

07371-30640

FLANGE

23

07372-21035

BOLT

24

01643-51032

WASHER

25

20Y-62-15580

BRACKET

26

01010-51080

BOLT

27

01643-31032

WASHER

Выбрано товаров: 28