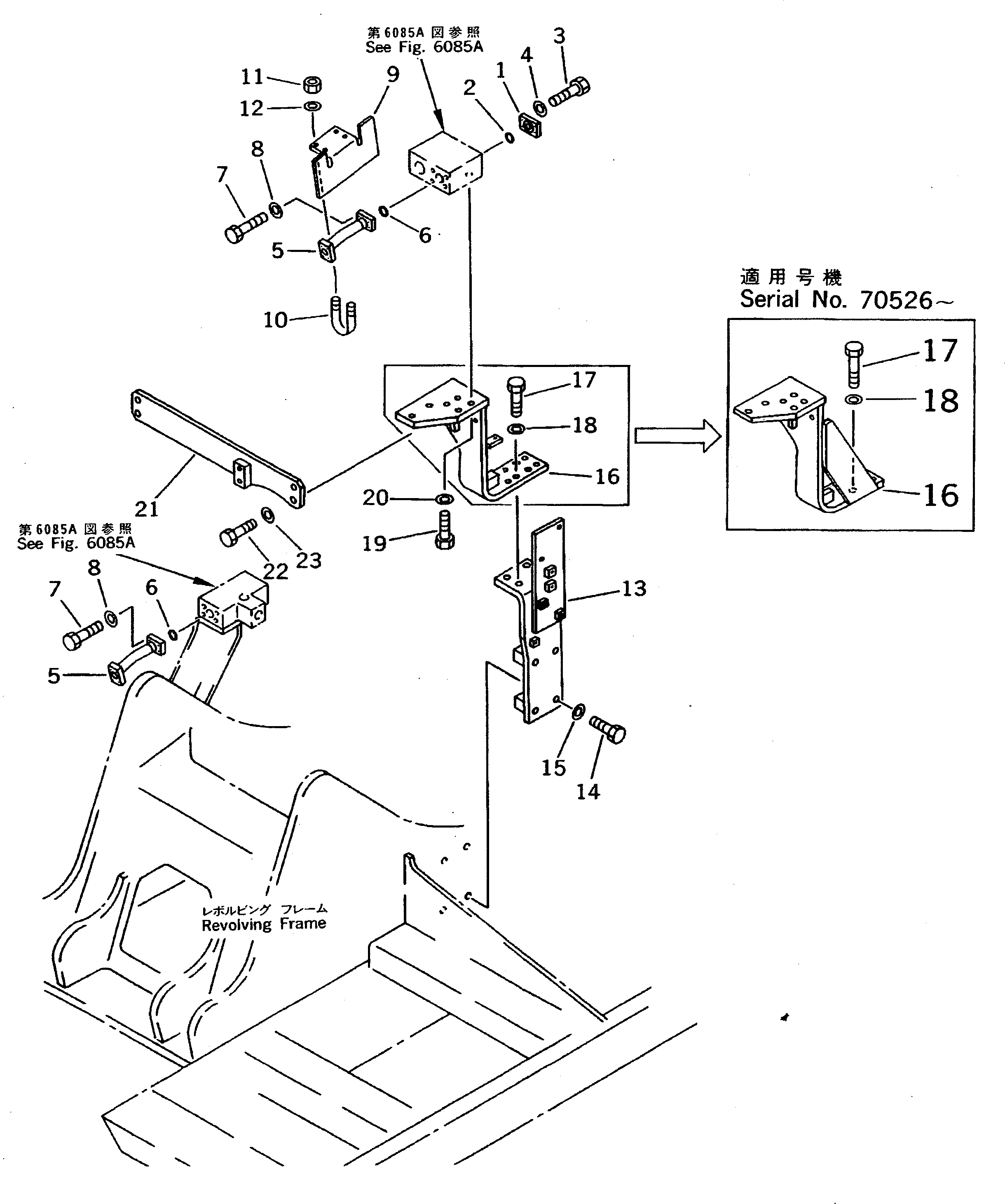
Запчасти Komatsu PC200LC-5T ДОПОЛН. ГИДРОЛИНИЯ (ШАССИ)(УПРАВЛЯЮЩ. КЛАПАН TO/FROM СТРЕЛА)(ДЛЯ НАСОС) УПРАВЛ-Е РАБОЧИМ ОБОРУДОВАНИЕМ

Схема запчастей Komatsu PC200LC-5T - ДОПОЛН. ГИДРОЛИНИЯ (ШАССИ)(УПРАВЛЯЮЩ. КЛАПАН TO/FROM СТРЕЛА)(ДЛЯ НАСОС) УПРАВЛ-Е РАБОЧИМ ОБОРУДОВАНИЕМ
FIT
1:1
100%

Артикул

Название

Примечание

Количество

1

20Y-62-15990

FLANGE

2

07000-13030

O-RING

3

07372-21035

BOLT

4

01643-51032

WASHER

5

20Y-970-1970

TUBE

6

07000-13035

O-RING

7

07372-21035

BOLT

8

01643-51032

WASHER

9

20Y-970-1981

BRACKET

10

07283-23442

CLIP

11

01599-01011

NUT

12

01643-31032

WASHER

13

20Y-970-3760

BRACKET

14

01010-51695

BOLT

15

01643-31645

WASHER

16

20Y-970-1512

BRACKET

16

20Y-970-1511

BRACKET

17

01010-51660

BOLT

18

01643-31645

WASHER

19

01010-51240

BOLT

20

01643-31232

WASHER

21

20Y-970-3550

FRAME

22

01010-51650

BOLT

23

21T-54-16150

WASHER

Выбрано товаров: 0