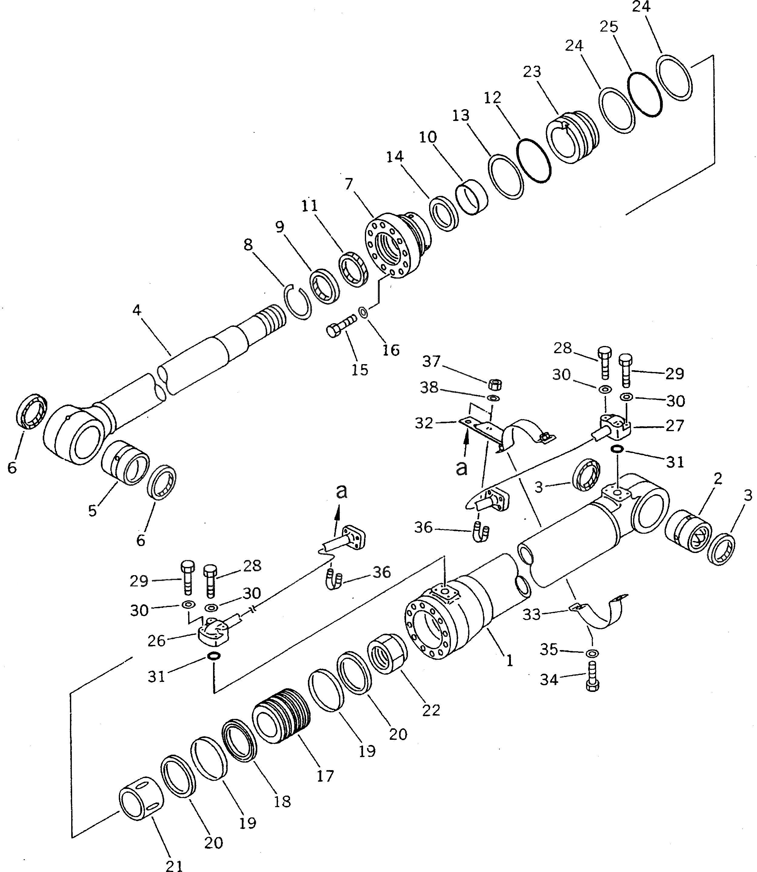
Запчасти Komatsu PC200LC-5T ЦИЛИНДР СТРЕЛЫ РАБОЧЕЕ ОБОРУДОВАНИЕ (ЭКСКАВАТ.)

Схема запчастей Komatsu PC200LC-5T - ЦИЛИНДР СТРЕЛЫ РАБОЧЕЕ ОБОРУДОВАНИЕ (ЭКСКАВАТ.)
FIT
1:1
100%

Артикул

Название

Примечание

Количество

G-1

205-63-X2100

BOOM CYLINDER GROUP,L.H.

G-2

205-63-X2110

BOOM CYLINDER GROUP,R.H.

|$3

205-63-02100

CYLINDER ASS'Y

1

205-63-53340

CYLINDER

2

205-70-71360

BUSHING

3

07145-00070

SEAL,DUST (KIT)

4

205-63-53320

ROD,PISTON

5

707-76-80010

BUSHING

6

07145-00080

SEAL,DUST (KIT)

7

707-27-12620

HEAD,CYLINDER

8

07179-13099

RING,SNAP

9

707-56-85510

SEAL,DUST (KIT)

10

707-52-90600

BUSHING

11

707-51-85030

PACKING,ROD (KIT)

12

07000-15115

O-RING (KIT)

13

07001-05115

RING,BACK-UP (KIT)

14

707-51-85630

RING,BUFFER (KIT)

15

01010-81670

BOLT

16

01643-51645

WASHER

17

707-36-12411

PISTON

18

707-44-12180

RING,PISTON (KIT)

19

707-39-12110

RING,WEAR (KIT)

20

707-44-12911

RING

21

707-71-60901

PLUNGER

22

07165-15860

NUT

23

707-71-32600

COLLAR

24

07001-05115

RING,BACK-UP (KIT)

25

07000-15115

O-RING (KIT)

26

205-63-53371

TUBE,L.H.

26

205-63-53471

TUBE,R.H.

27

205-63-53381

TUBE,L.H.

27

205-63-53481

TUBE,R.H.

28

07372-21060

BOLT

29

07372-21045

BOLT

30

01643-51032

WASHER

31

07000-13030

O-RING (KIT)

32

707-88-95161

BRACKET,L.H.

32

707-88-95171

BRACKET,R.H.

33

707-88-96530

BAND

34

01010-51035

BOLT

35

01643-51032

WASHER

36

07283-22738

CLIP

37

01599-01011

NUT

38

01643-31032

WASHER

Выбрано товаров: 44