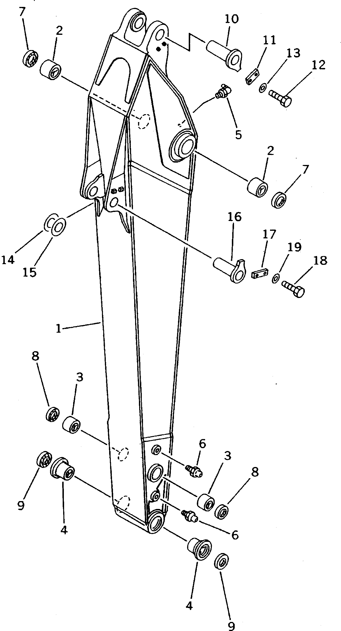
Запчасти Komatsu PC200LC-5T РУКОЯТЬ РАБОЧЕЕ ОБОРУДОВАНИЕ (ЭКСКАВАТ.)

Схема запчастей Komatsu PC200LC-5T - РУКОЯТЬ РАБОЧЕЕ ОБОРУДОВАНИЕ (ЭКСКАВАТ.)
FIT
1:1
100%

Артикул

Название

Примечание

Количество

|$0

20Y-70-00170

ARM ASS'Y

1

ARM

2

205-70-66550

BUSHING

3

21K-70-12170

BUSHING

4

205-70-72130

BUSHING

5

07020-00900

FITTING,GREASE

6

07020-00000

FITTING,GREASE

7

07145-00090

SEAL,DUST

8

21K-70-12180

SEAL,DUST

9

205-70-62150

SEAL,DUST

10

20Y-70-11180

PIN

11

205-70-66580

PLATE

12

01010-51235

BOLT

13

01643-31232

WASHER

14

20Y-70-11290

SPACER, 0.8MM

15

20Y-70-11310

SPACER, 1.5MM

16

205-70-71190

PIN

17

205-70-66580

PLATE

18

01010-51235

BOLT

19

01643-31232

WASHER

Выбрано товаров: 20