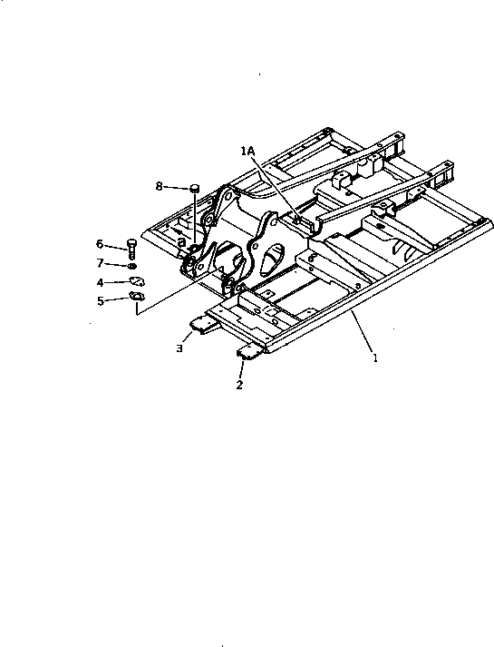
Запчасти Komatsu PC200LC-5T ОСНОВНАЯ РАМА (С F.O.P.S. И СИГНАЛ ХОДА) СИСТЕМА УПРАВЛЕНИЯ И ОСНОВНАЯ РАМА

Схема запчастей Komatsu PC200LC-5T - ОСНОВНАЯ РАМА (С F.O.P.S. И СИГНАЛ ХОДА) СИСТЕМА УПРАВЛЕНИЯ И ОСНОВНАЯ РАМА
FIT
1:1
100%

Артикул

Название

Примечание

Количество

1

20Y-956-1390

FRAME,REVOLVING

1A

207-46-51481

PLATE (WELDED)

2

207-956-5132

BRACKET (WELDED)

3

207-956-5142

BRACKET (WELDED)

4

205-30-71181

COVER

5

205-30-71191

GASKET

6

01010-51230

BOLT

7

01643-31232

WASHER

8

20Y-46-11560

CAP

Выбрано товаров: 9