Запчасти Komatsu PC200LC-5X КОВШ ДЛЯ ЗАЧИСТКИ ТРАНШЕЙ¤ .7M¤ 8MM РАБОЧЕЕ ОБОРУДОВАНИЕ

Схема запчастей Komatsu PC200LC-5X - КОВШ ДЛЯ ЗАЧИСТКИ ТРАНШЕЙ¤ .7M¤ 8MM РАБОЧЕЕ ОБОРУДОВАНИЕ
FIT
1:1
100%

Артикул

Название

Примечание

Количество

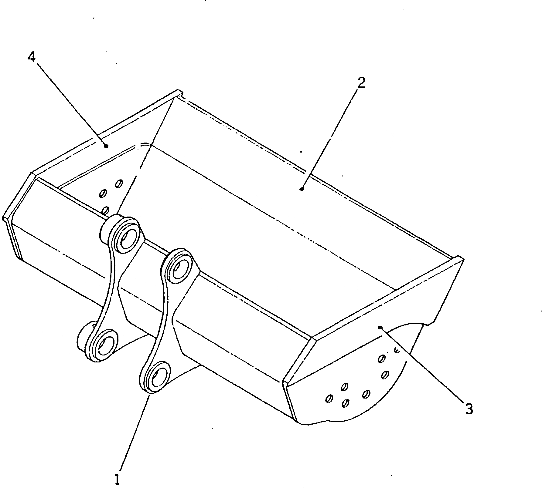
G-1

20Y-938-X101

BUCKET GROUP

1

205-938-7111

BUCKET

2

205-938-6220

PLATE (WELDED)

3

205-938-6230

PLATE,L.H. (WELDED)

4

205-938-6240

PLATE,R.H. (WELDED)

Выбрано товаров: 0