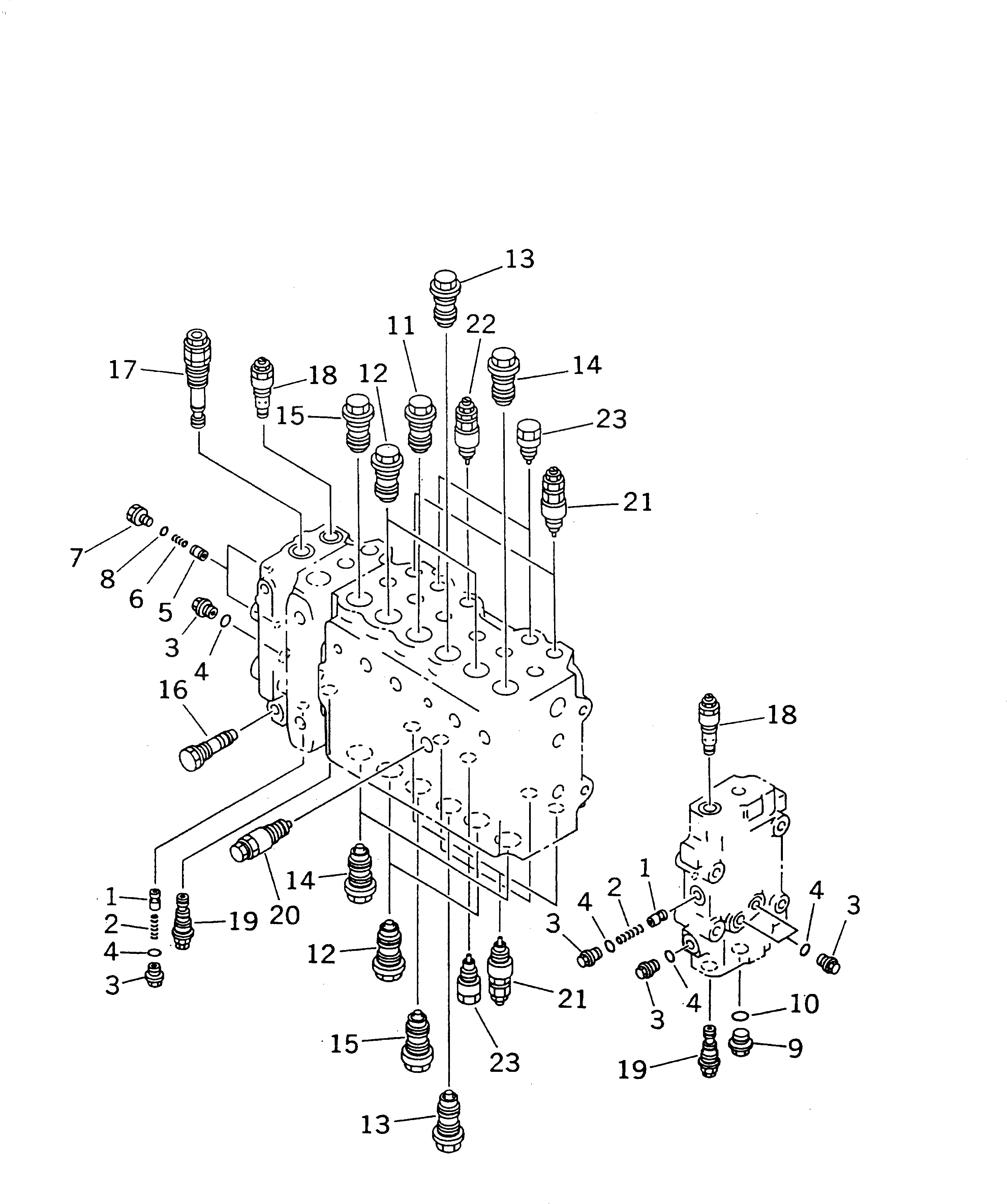
Запчасти Komatsu PC200LC-6 ОСНОВН. КЛАПАН (-АКТУАТОР) (/) (БЕЗ КЛАПАН БЕЗОПАСНОСТИ)(№89-87999) ОСНОВН. КОМПОНЕНТЫ И РЕМКОМПЛЕКТЫ

Схема запчастей Komatsu PC200LC-6 - ОСНОВН. КЛАПАН (-АКТУАТОР) (/) (БЕЗ КЛАПАН БЕЗОПАСНОСТИ)(№89-87999) ОСНОВН. КОМПОНЕНТЫ И РЕМКОМПЛЕКТЫ
FIT
1:1
100%

Артикул

Название

Примечание

Количество

|$1

723-47-10601

VALVE ASS'Y

1

723-46-15150

VALVE

2

723-46-14150

SPRING

3

723-46-15180

PLUG

4

07002-11823

O-RING

5

723-46-15190

VALVE

6

723-46-14140

SPRING

7

708-8E-16160

PLUG

8

07002-11023

O-RING

9

709-74-91860

PLUG

10

07002-12434

O-RING

11

723-46-40100

VALVE ASS'Y

12

723-46-40300

VALVE ASS'Y

13

723-46-41100

VALVE ASS'Y

14

723-46-45100

VALVE ASS'Y

15

723-46-46101

VALVE ASS'Y

16

723-46-15100

PLUG ASS'Y

17

723-40-50100

VALVE ASS'Y,RELIEF

18

723-40-50200

VALVE ASS'Y,RELIEF

19

723-40-56100

VALVE ASS'Y,UNLOAD

20

723-40-60100

VALVE ASS'Y

21

709-70-74302

VALVE ASS'Y,SUCTION AND SAFETY

22

709-70-74203

VALVE ASS'Y,SUCTION AND SAFETY

23

723-40-85100

VALVE ASS'Y,SUCTION

Выбрано товаров: 24