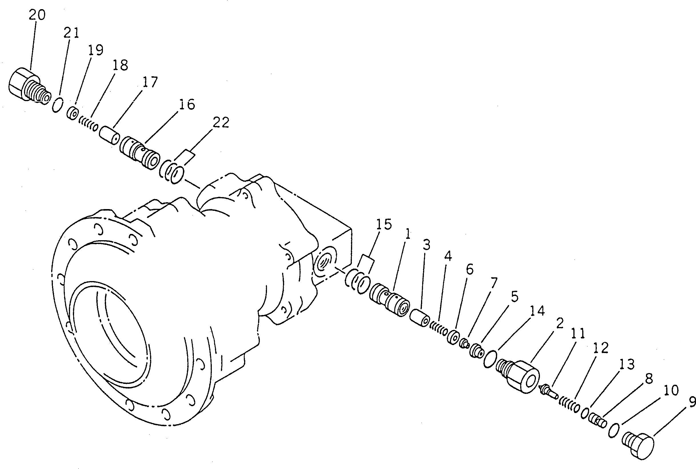
Запчасти Komatsu PC200LC-6 МОТОР ПОВОРОТА (ДЛЯ ROTATION РУКОЯТЬ) (ТОРМОЗНОЙ КЛАПАН) ОСНОВН. КОМПОНЕНТЫ И РЕМКОМПЛЕКТЫ

Схема запчастей Komatsu PC200LC-6 - МОТОР ПОВОРОТА (ДЛЯ ROTATION РУКОЯТЬ) (ТОРМОЗНОЙ КЛАПАН) ОСНОВН. КОМПОНЕНТЫ И РЕМКОМПЛЕКТЫ
FIT
1:1
100%

Артикул

Название

Примечание

Количество

|$0

205-966-5903

SWING MOTOR ASS'Y

|$2

TZ907S200001-A

MOTOR ASS'Y

|$3

TZ501S213501-E

RELIEF VALVE ASS'Y

1

GUIDE,MAIN

2

GUIDE,PILOT

3

VALVE

4

SPRING

5

SEAT,PILOT

6

COLLAR

7

ORIFICE

8

RETAINER

9

TZ24C4106-00

PLUG

10

TZ23C4007-00

SHIM

11

TZ501S2037-00

POPPET

12

TZ21C4019-00

SPRING

13

07000-11008

O-RING (KIT)

14

07000-13022

O-RING (KIT)

15

TZARP568-019-9

O-RING (KIT)

|$19

TZ501S2136-00

PLUG ASS'Y

16

GUIDE,MAIN

17

VALVE

18

SPRING

19

COLLAR

20

PLUG

21

07000-13022

O-RING (KIT)

22

TZARP568-019-9

O-RING (KIT)

23

TZ907S9000-00

SEAL KIT

23

TZJW1516-G16-9

O-RING

23

TZTC135-165-14

SEAL,OIL

23

07000-11008

O-RING

23

07000-13022

O-RING

23

TZARP568-019-9

O-RING

23

TZSBI-20-40-11

O-RING,OIL

23

TZJW1516-G49-9

O-RING

23

TZJW1516-G40-9

O-RING

23

07000-12014

O-RING

23

07000-12011

O-RING

Выбрано товаров: 37