Запчасти Komatsu PC200LC-6 ОБОГРЕВАТЕЛЬ. (ВЫСОК. ЕМК.) ( KCAL)(№9999-9) КАБИНА ОПЕРАТОРА И СИСТЕМА УПРАВЛЕНИЯ

Схема запчастей Komatsu PC200LC-6 - ОБОГРЕВАТЕЛЬ. (ВЫСОК. ЕМК.) ( KCAL)(№9999-9) КАБИНА ОПЕРАТОРА И СИСТЕМА УПРАВЛЕНИЯ
FIT
1:1
100%

Артикул

Название

Примечание

Количество

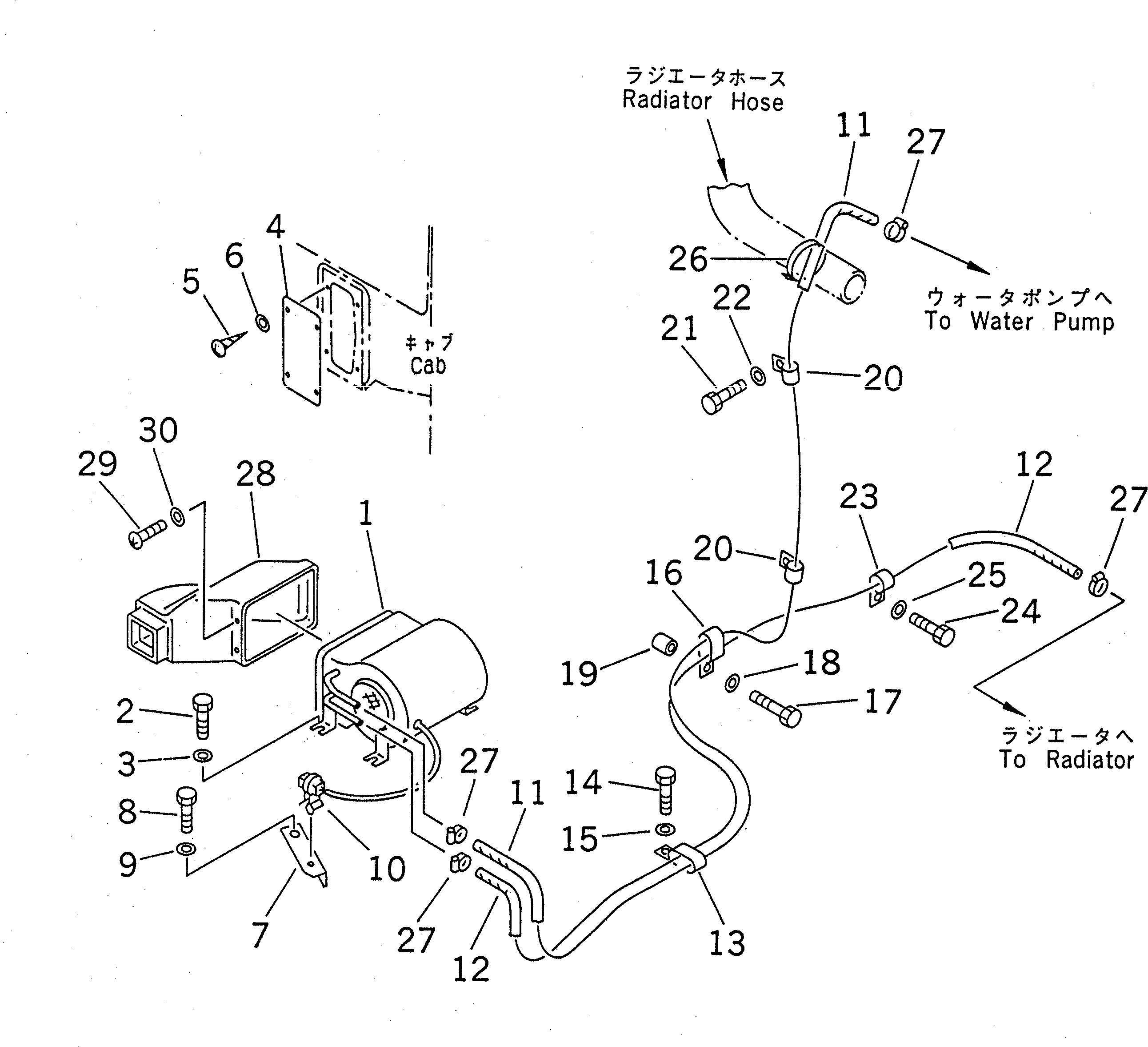
1

20Y-977-2130

HEATER ASS'Y

2

01010-51020

BOLT

3

01643-31032

WASHER

4

20Y-977-2170

COVER

5

01370-00512

SCREW

6

01641-20508

WASHER

7

20Y-977-2160

PLATE

8

01010-51020

BOLT

9

01643-31032

WASHER

10

20Y-06-24270

CLIP

11

09483-00433

HOSE

12

09483-00425

HOSE

13

141-06-11220

CLIP

14

01010-51230

BOLT

15

01643-31232

WASHER

16

141-06-11220

CLIP

17

01010-51245

BOLT

18

01643-31232

WASHER

19

195-33-11220

SPACER

20

209-04-19140

CLIP

21

01010-51025

BOLT

22

01643-31032

WASHER

23

209-04-19140

CLIP

24

01010-51230

BOLT

25

01643-31232

WASHER

26

08034-00536

BAND

27

09480-10100

CLAMP

28

20Y-977-2111

DUCT

29

7861-86-1330

SCREW

30

01642-20405

WASHER

Выбрано товаров: 30