Запчасти Komatsu PC200LC-6 ПЕРЕГОРОДКА. (КАБИНА)(№8-9998) ЧАСТИ КОРПУСА

Схема запчастей Komatsu PC200LC-6 - ПЕРЕГОРОДКА. (КАБИНА)(№8-9998) ЧАСТИ КОРПУСА
FIT
1:1
100%

Артикул

Название

Примечание

Количество

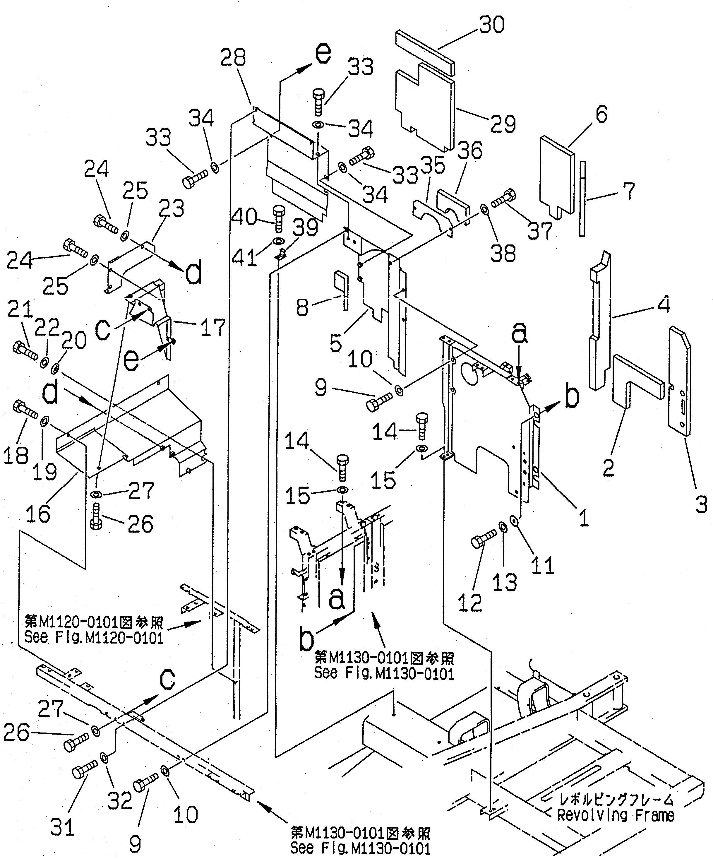
1

20Y-54-27615

COVER

1

20Y-54-27614

COVER

2

20Y-54-27590

SHEET

3

20Y-54-27712

SHEET

4

20Y-54-27722

SHEET

5

20Y-54-27623

COVER

6

20Y-54-27731

SHEET

7

20Y-54-27751

SHEET

8

20Y-54-27791

SHEET

9

01010-51230

BOLT

10

175-54-34170

WASHER

11

20Y-54-12550

COLLAR

12

01010-51230

BOLT

13

01643-31232

WASHER

14

01010-51230

BOLT

15

01643-31232

WASHER

16

20Y-54-27633

COVER

17

20Y-54-27654

COVER

18

01010-51230

BOLT

19

01643-31232

WASHER

20

20Y-54-12550

COLLAR

21

01010-51230

BOLT

22

01643-31232

WASHER

23

20Y-54-27642

COVER

24

01010-51230

BOLT

25

01643-31232

WASHER

26

01010-51230

BOLT

27

01643-31232

WASHER

28

20Y-54-27694

COVER

28

20Y-54-27693

COVER

29

20Y-54-27582

SHEET

30

20Y-54-27741

SHEET

31

01010-51230

BOLT

32

01643-31232

WASHER

33

01010-51230

BOLT

34

175-54-34170

WASHER

35

20Y-54-27682

COVER

36

20Y-54-27570

SHEET

37

01010-51230

BOLT

38

01643-31232

WASHER

39

20Y-54-12320

CATCH

40

01010-51230

BOLT

41

01643-31232

WASHER

Выбрано товаров: 43