Запчасти Komatsu PC200LC-6 ЛИНИЯ РАБОЧЕГО ОБОРУД. PPC (PPC) ( АКТУАТОР)(№8-9998) КАБИНА ОПЕРАТОРА И СИСТЕМА УПРАВЛЕНИЯ

Схема запчастей Komatsu PC200LC-6 - ЛИНИЯ РАБОЧЕГО ОБОРУД. PPC (PPC) ( АКТУАТОР)(№8-9998) КАБИНА ОПЕРАТОРА И СИСТЕМА УПРАВЛЕНИЯ
FIT
1:1
100%

Артикул

Название

Примечание

Количество

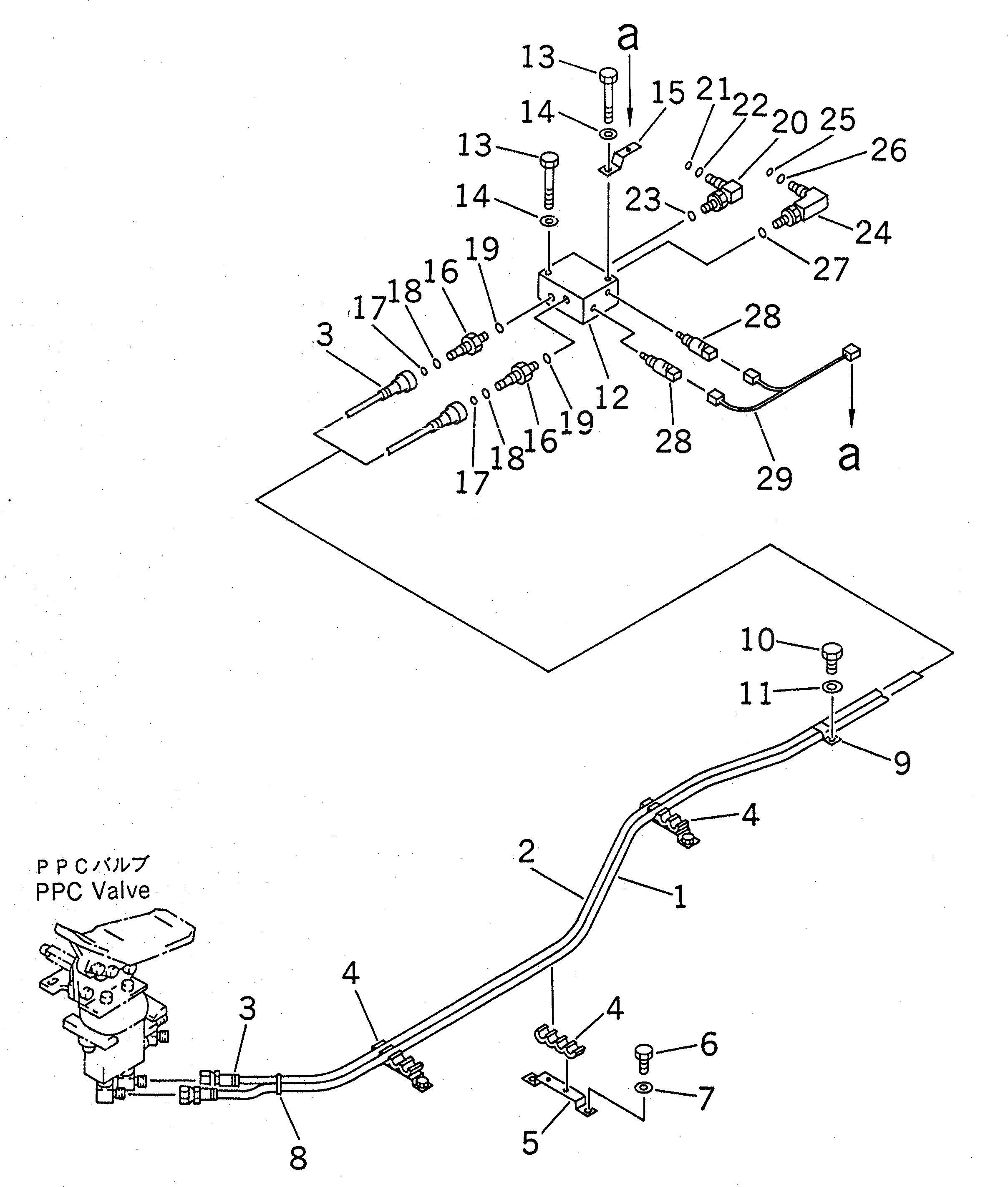
1

20Y-62-23411

HOSE¤ 1950MM

|1

20Y-62-23410

HOSE¤ 1950MM

2

20Y-62-23571

HOSE¤ 1900MM

|2

20Y-62-23570

HOSE¤ 1900MM

3

20Y-62-22810

BAND¤ YELLOW

4

20Y-62-22170

CLAMP

5

20Y-62-22180

CLAMP

6

01010-51016

BOLT

7

01643-31032

WASHER

8

08034-00536

BAND

9

21T-72-23270

CLIP

10

01010-51225

BOLT

11

01643-31032

WASHER

12

20Y-62-22220

BLOCK

13

01010-51065

BOLT

14

01643-31032

WASHER

15

08053-01512

CLIP

16

20Y-62-16630

NIPPLE

17

201-60-11390

O-RING

18

20Y-62-19560

O-RING

19

07002-01423

O-RING

20

20Y-62-22271

ELBOW

21

201-60-11390

O-RING

22

20Y-62-19560

O-RING

23

07002-01423

O-RING

24

14X-43-14840

ELBOW

25

201-60-11390

O-RING

26

20Y-62-19560

O-RING

27

07002-01423

O-RING

28

20Y-06-21710

SWITCH

29

20Y-06-21330

WIRING HARNESS

Выбрано товаров: 31