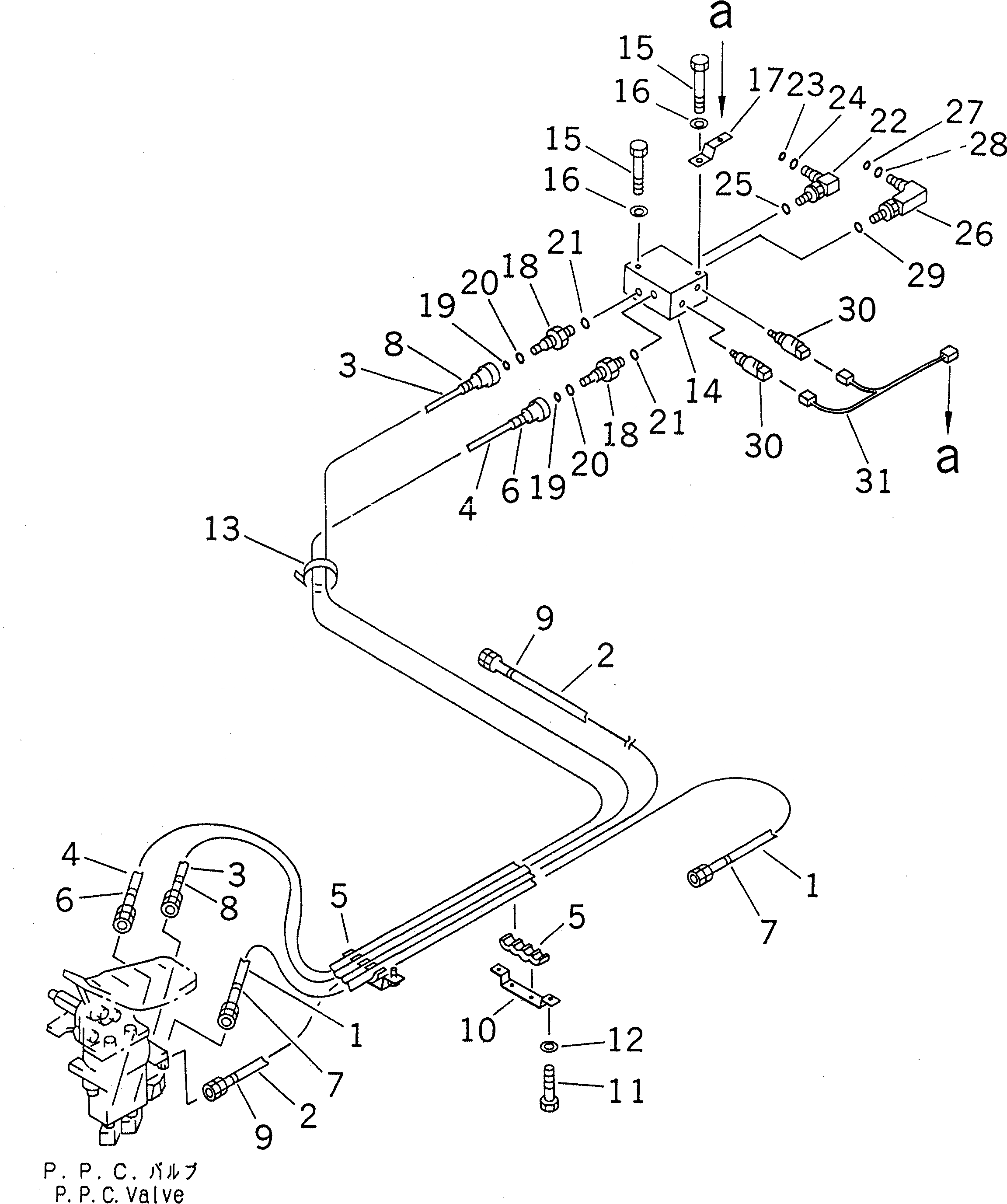
Запчасти Komatsu PC200LC-6 ЛИНИЯ РАБОЧЕГО ОБОРУД. PPC (PPC) (ROTATION РУКОЯТЬ)(№8-899) КАБИНА ОПЕРАТОРА И СИСТЕМА УПРАВЛЕНИЯ

Схема запчастей Komatsu PC200LC-6 - ЛИНИЯ РАБОЧЕГО ОБОРУД. PPC (PPC) (ROTATION РУКОЯТЬ)(№8-899) КАБИНА ОПЕРАТОРА И СИСТЕМА УПРАВЛЕНИЯ
FIT
1:1
100%

Артикул

Название

Примечание

Количество

1

20Y-62-22880

HOSE¤ 980MM

2

20Y-62-23370

HOSE¤ 1200MM

3

20Y-62-25550

HOSE¤ 2150MM

4

20Y-62-25560

HOSE¤ 2200MM

5

20Y-62-22170

CLAMP

6

20Y-62-22860

BAND¤ BROWN

7

20Y-62-22790

BAND¤ RED

8

20Y-62-22840

BAND¤ BLACK

9

20Y-62-22820

BAND¤ BLUE

10

20Y-62-22180

CLAMP

11

01010-51016

BOLT

12

01643-31032

WASHER

13

08034-00536

BAND

14

20Y-62-22220

BLOCK

15

01010-51065

BOLT

16

01643-31032

WASHER

17

08053-01512

CLIP

18

20Y-62-16630

NIPPLE

19

201-60-11390

O-RING

20

20Y-62-19560

O-RING

21

07002-01423

O-RING

22

20Y-62-22271

ELBOW

23

201-60-11390

O-RING

24

20Y-62-19560

O-RING

25

07002-01423

O-RING

26

14X-43-14840

ELBOW

27

201-60-11390

O-RING

28

20Y-62-19560

O-RING

29

07002-01423

O-RING

30

20Y-06-21710

SWITCH

31

20Y-06-21330

WIRING HARNESS

Выбрано товаров: 31