Запчасти Komatsu PC200LC-6H ГИДР. БАК. (С ДАТЧИКОМ)(№9-) ГИДРАВЛИКА

Схема запчастей Komatsu PC200LC-6H - ГИДР. БАК. (С ДАТЧИКОМ)(№9-) ГИДРАВЛИКА
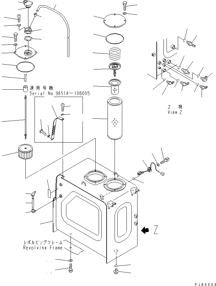
1
2
2
3
4
5
6
7
8
9
10
11
12
13
14
14
15
15
16
17
18
19
20
21
22
23
24
24A
25
26
27
28
29
30
31
32
33
34
35
36
37
38
39
40
41
42
42A
43
44
44
45
45
46
47
FIT
1:1
100%

Артикул

Название

Примечание

Количество

|1

20Y-60-00064

HYDRAULIC TANK ASS'Y

|1

20Y-60-00063

HYDRAULIC TANK ASS'Y

1

TANK

|1

TANK

|1

TANK

2

203-60-31100

ELBOW ASS'Y

|2

208-04-19130

ELBOW

3

203-60-31160

TUBE

4

07044-12412

PLUG

5

07002-02434

O-RING

6

07230-20628

UNION

7

07002-02434

O-RING

8

07236-10522

ELBOW

9

07002-02434

O-RING

10

07235-10315

ELBOW

11

07002-02034

O-RING

12

07236-10315

ELBOW

13

07002-02034

O-RING

14

07236-10210

ELBOW

15

07002-01423

O-RING

16

20Y-60-21510

ELEMENT

17

07069-25400

STRAINER

|17

206-60-41221

STRAINER

18

07069-05400

VALVE ASS'Y

|18

12R-60-11300

VALVE ASS'Y

19

07069-34075

SPRING

|19

20Y-60-21240

SPRING

20

20Y-60-22530

COVER

21

07000-15180

O-RING

|21

07000-05180

O-RING

22

01010-81230

BOLT

23

01643-31232

WASHER

24

7861-92-4210

SENSOR

24A

7861-91-4220

O-RING

25

01252-40612

BOLT

26

01641-20608

WASHER

|27

20Y-60-22550

STRAINER ASS'Y

27

20Y-60-21311

STRAINER

28

207-60-61150

ROD ASS'Y

29

20Y-60-21320

HOLDER

30

12R-60-11230

SPRING

31

203-60-61140

COVER

32

07000-15180

O-RING

|32

07000-05180

O-RING

33

01010-81225

BOLT

34

01643-31232

WASHER

35

17A-60-11310

CAP ASS'Y

36

20Y-60-21470

ELEMENT

37

20Y-60-21460

NECK

38

20Y-60-21340

GASKET

|38

205-60-66211

GASKET

39

01252-70516

BOLT

|39

01220-40516

SCREW

40

01601-20513

WASHER

41

07285-00155

CLIP

42

20Y-60-21190

TUBE

|42

07270-61512

TUBE

42A

205-00-73360

PLATE¤ OPERATING

43

20Y-60-22561

COVER

44

01220-40412

SCREW

45

20Y-60-22540

PLATE

46

01010-81635

BOLT

47

01643-31645

WASHER

Выбрано товаров: 63