Запчасти Komatsu PC200LC-6H КАБИНА (ПАНЕЛЬ) (С МОНИТОРING СИСТЕМА)(№88-) КАБИНА ОПЕРАТОРА И СИСТЕМА УПРАВЛЕНИЯ

Схема запчастей Komatsu PC200LC-6H - КАБИНА (ПАНЕЛЬ) (С МОНИТОРING СИСТЕМА)(№88-) КАБИНА ОПЕРАТОРА И СИСТЕМА УПРАВЛЕНИЯ
FIT
1:1
100%

Артикул

Название

Примечание

Количество

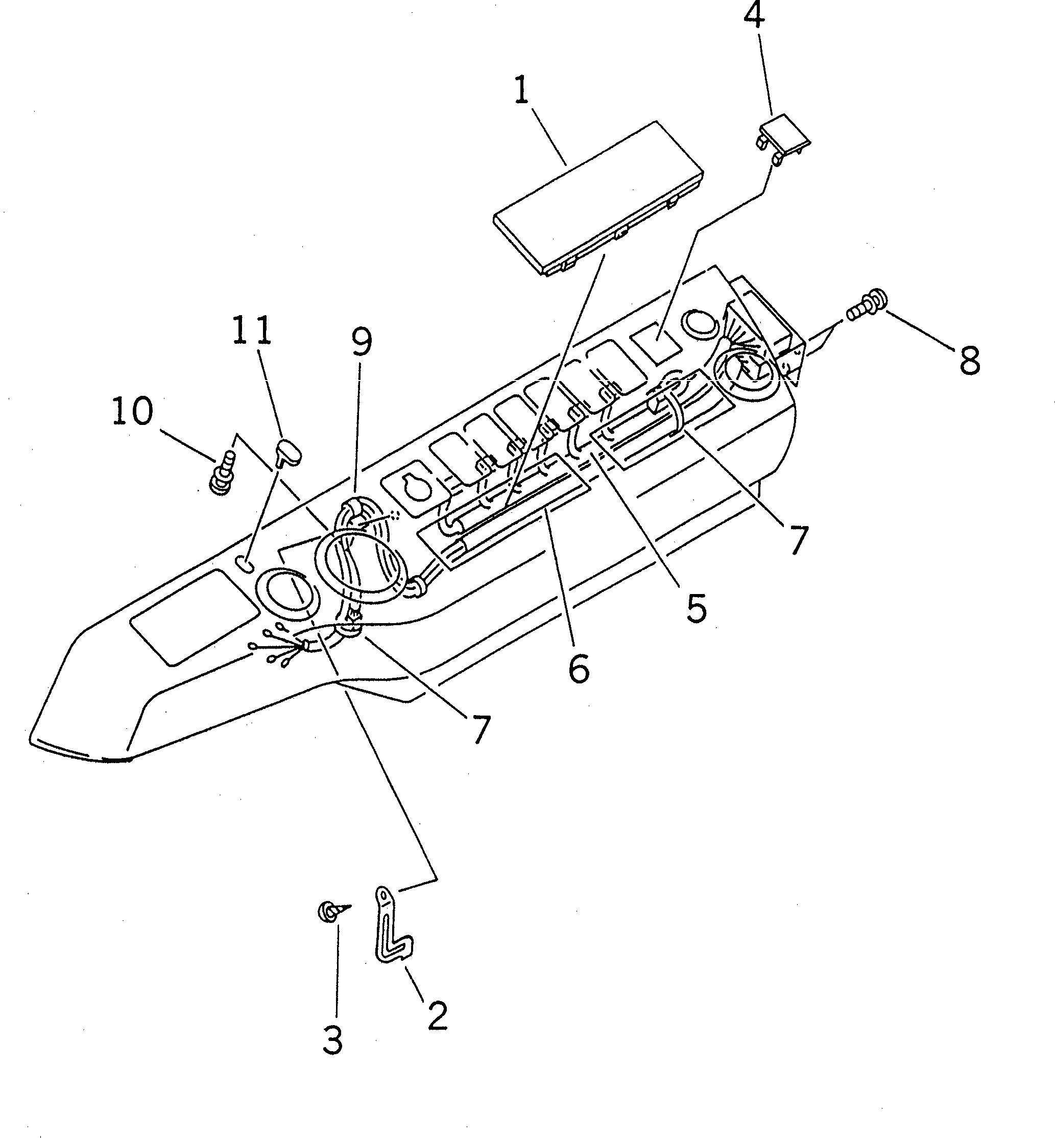
1

20Y-06-24291

CAP

2

20Y-06-24260

STAY

3

01370-00512

SCREW

4

20Y-06-23860

CAP

5

20Y-06-23880

WIRING HARNESS

6

207-06-61210

WIRING HARNESS

7

08034-20414

BAND

8

01023-10408

SCREW

9

20Y-06-23920

CLAMP

10

01023-10408

SCREW

11

20Y-06-23780

CAP

Выбрано товаров: 0