Запчасти Komatsu PC200LC-6H ОБОГРЕВАТЕЛЬ. (ВЫСОК. ЕМК.) ( KCAL) (С DIODE)(№88-9998) КАБИНА ОПЕРАТОРА И СИСТЕМА УПРАВЛЕНИЯ

Схема запчастей Komatsu PC200LC-6H - ОБОГРЕВАТЕЛЬ. (ВЫСОК. ЕМК.) ( KCAL) (С DIODE)(№88-9998) КАБИНА ОПЕРАТОРА И СИСТЕМА УПРАВЛЕНИЯ
FIT
1:1
100%

Артикул

Название

Примечание

Количество

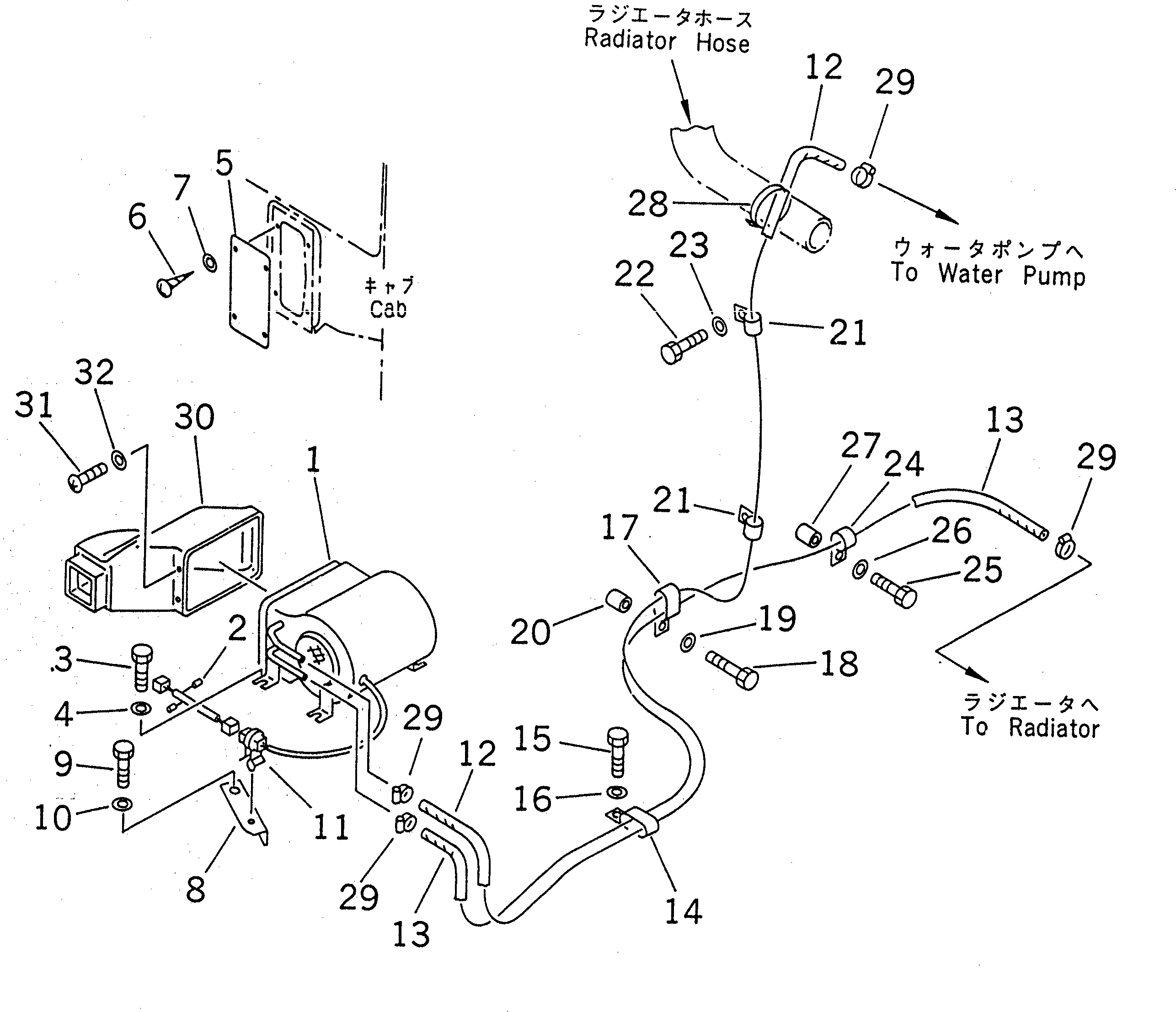
1

20Y-977-2130

HEATER ASS'Y

2

20Y-06-24350

WIRING HARNESS

|2

08020-10000

DIODE

3

01010-51020

BOLT

4

01643-31032

WASHER

5

20Y-977-2170

COVER

6

01370-00512

SCREW

7

01641-20508

WASHER

8

20Y-977-2160

PLATE

9

01010-51020

BOLT

10

01643-31032

WASHER

11

20Y-06-24270

CLIP

12

09483-00433

HOSE

13

09483-00425

HOSE

14

141-06-11220

CLIP

15

01010-51230

BOLT

16

01643-31232

WASHER

17

141-06-11220

CLIP

18

01010-51250

BOLT

19

01643-31232

WASHER

20

195-33-11220

SPACER

21

209-04-19140

CLIP

22

01010-51025

BOLT

23

01643-31032

WASHER

24

209-04-19140

CLIP

25

01010-51250

BOLT

26

01643-31232

WASHER

27

195-33-11220

SPACER

28

08034-00536

BAND

29

09480-10100

CLAMP

30

20Y-977-2111

DUCT

31

7861-86-1330

SCREW

32

01642-20405

WASHER

Выбрано товаров: 33