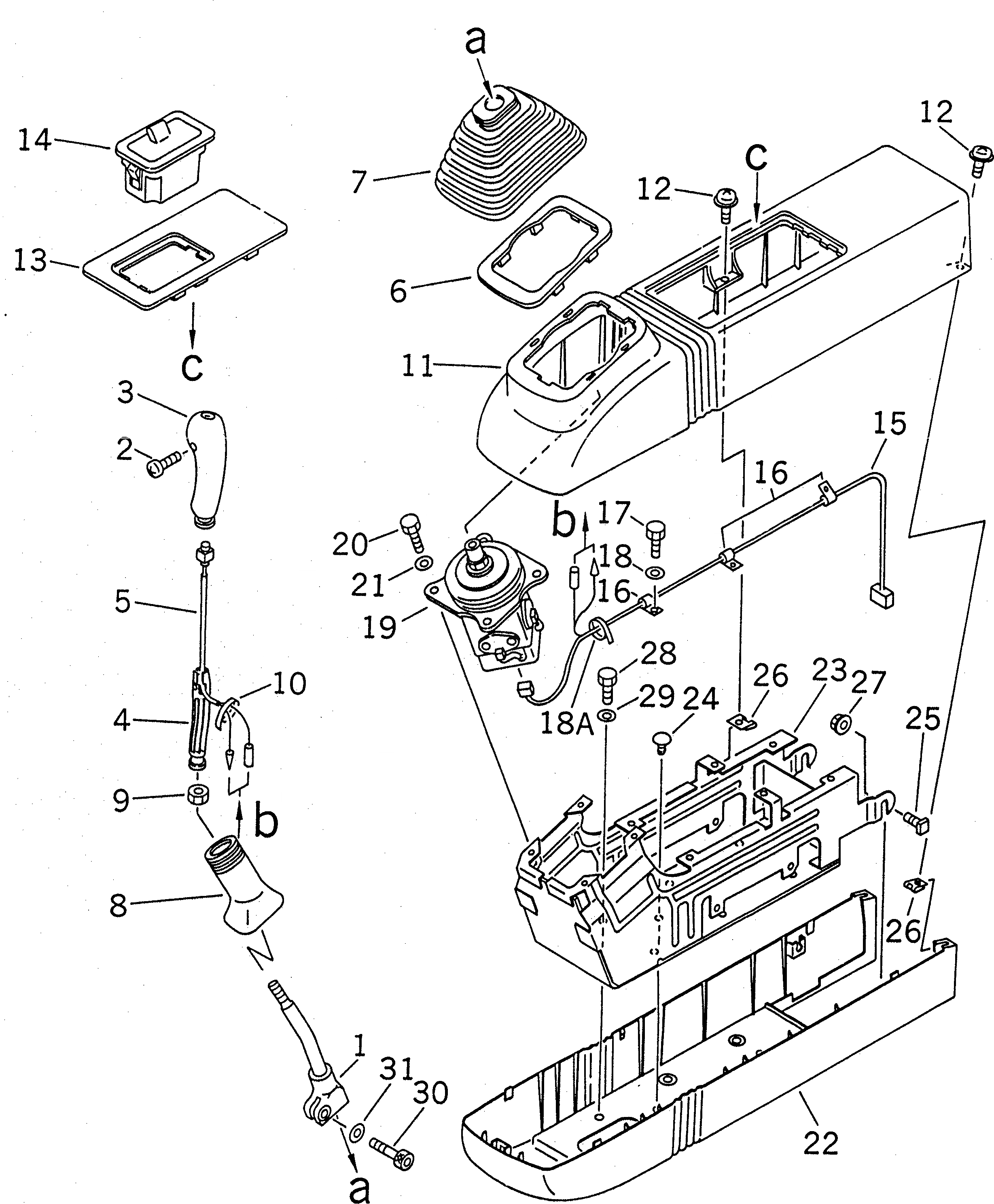
Запчасти Komatsu PC200LC-6H ЛЕВ. СТОЙКА (РЫЧАГ И COVER) (РАБОЧ. РЫЧАГ С КЛАПАН EPC) ( TOUCH DIGGING POWER UP)(№8-9) КАБИНА ОПЕРАТОРА И СИСТЕМА УПРАВЛЕНИЯ

Схема запчастей Komatsu PC200LC-6H - ЛЕВ. СТОЙКА (РЫЧАГ И COVER) (РАБОЧ. РЫЧАГ С КЛАПАН EPC) ( TOUCH DIGGING POWER UP)(№8-9) КАБИНА ОПЕРАТОРА И СИСТЕМА УПРАВЛЕНИЯ
FIT
1:1
100%

Артикул

Название

Примечание

Количество

|1

20Y-43-21612

LEVER ASS'Y,L.H.

|1

20Y-43-21611

LEVER ASS'Y,L.H.

1

20Y-43-22211

LEVER,L.H.

|2

20Y-43-22232

KNOB,L.H.

|2

20Y-43-22231

KNOB,L.H.

2

01370-10308

SCREW

3

20Y-43-22381

KNOB

|3

20Y-43-22380

KNOB,L.H.

4

20Y-43-22420

INSERT

5

20Y-43-22430

SWITCH,L.H.

6

20Y-43-22250

PLATE

7

20Y-43-22261

BOOT

8

20Y-43-22370

BOOT

9

600-411-1280

NUT

10

08034-00310

BAND

11

20Y-43-22121

CASE

12

20Y-43-16590

SCREW

|13

20Y-43-22451

COVER ASS'Y

13

20Y-43-22152

COVER,L.H.

14

20Y-06-21751

ASHTRAY

15

20Y-06-22170

WIRING HARNESS

16

424-06-12850

CLIP

17

01010-50820

BOLT

18

01643-30823

WASHER

18A

08034-00310

BAND

19

7834-50-2001

LEVER UNIT ASS'Y

|19

7834-50-2000

LEVER UNIT ASS'Y

20

01010-50820

BOLT

21

01643-30823

WASHER

|22

20Y-43-21651

COVER ASS'Y

22

20Y-43-22111

CASE

23

20Y-43-22131

FRAME

24

20Y-43-22310

CLIP

25

20Y-43-22470

BOLT

26

20Y-43-22480

SPRING

27

198-911-5530

NUT

28

01010-51025

BOLT

29

01643-31032

WASHER

30

01252-41025

BOLT

31

01643-31032

WASHER

Выбрано товаров: 40