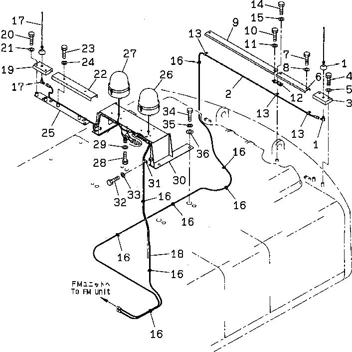
Запчасти Komatsu PC200LC-6H АНТЕННА (РАДИО УПРАВЛ-Е СПЕЦ-Я.) КАБИНА ОПЕРАТОРА И СИСТЕМА УПРАВЛЕНИЯ

Схема запчастей Komatsu PC200LC-6H - АНТЕННА (РАДИО УПРАВЛ-Е СПЕЦ-Я.) КАБИНА ОПЕРАТОРА И СИСТЕМА УПРАВЛЕНИЯ
FIT
1:1
100%

Артикул

Название

Примечание

Количество

1

08521-00000

ANTENNA

2

20Y-06-26410

CABLE

3

20Y-06-26170

COVER

4

01010-51220

BOLT

5

01643-31232

WASHER

6

20Y-06-26370

COVER

7

01010-51220

BOLT

8

01643-31232

WASHER

9

20Y-06-26380

COVER

10

01010-51220

BOLT

11

01643-31232

WASHER

12

20Y-06-26390

BRACKET

13

08036-10814

CLIP

14

01010-51220

BOLT

15

01643-31232

WASHER

16

08034-00414

BAND

17

08521-00000

ANTENNA

18

20Y-06-26250

CABLE

19

20Y-06-26170

COVER

20

01010-51220

BOLT

21

01643-31232

WASHER

22

20Y-06-26180

COVER

23

01010-51220

BOLT

24

01643-31232

WASHER

25

20Y-54-24120

BRACKET

26

08154-72400

LAMP ASS'Y

27

08154-82400

LAMP ASS'Y

28

01010-50820

BOLT

29

01643-30823

WASHER

30

20Y-06-26340

BRACKET

31

08036-01414

CLIP

32

01010-51220

BOLT

33

01643-31232

WASHER

34

01010-51235

BOLT

35

01643-31232

WASHER

36

566-35-42430

PLATE

Выбрано товаров: 36