Запчасти Komatsu PC200LC-6H ОСНОВН. КЛАПАН (/)(№8-9998) ОСНОВН. КОМПОНЕНТЫ И РЕМКОМПЛЕКТЫ

Схема запчастей Komatsu PC200LC-6H - ОСНОВН. КЛАПАН (/)(№8-9998) ОСНОВН. КОМПОНЕНТЫ И РЕМКОМПЛЕКТЫ
FIT
1:1
100%

Артикул

Название

Примечание

Количество

|1

723-46-12101

VALVE ASS'Y

|1

723-46-12100

VALVE ASS'Y

|1

723-46-10501

VALVE ASS'Y

|1

723-46-10500

VALVE ASS'Y

|1

723-46-10107

VALVE ASS'Y

|1

723-46-10105

VALVE ASS'Y

|1

723-46-10103

VALVE ASS'Y

|1

723-40-66100

VALVE ASS'Y

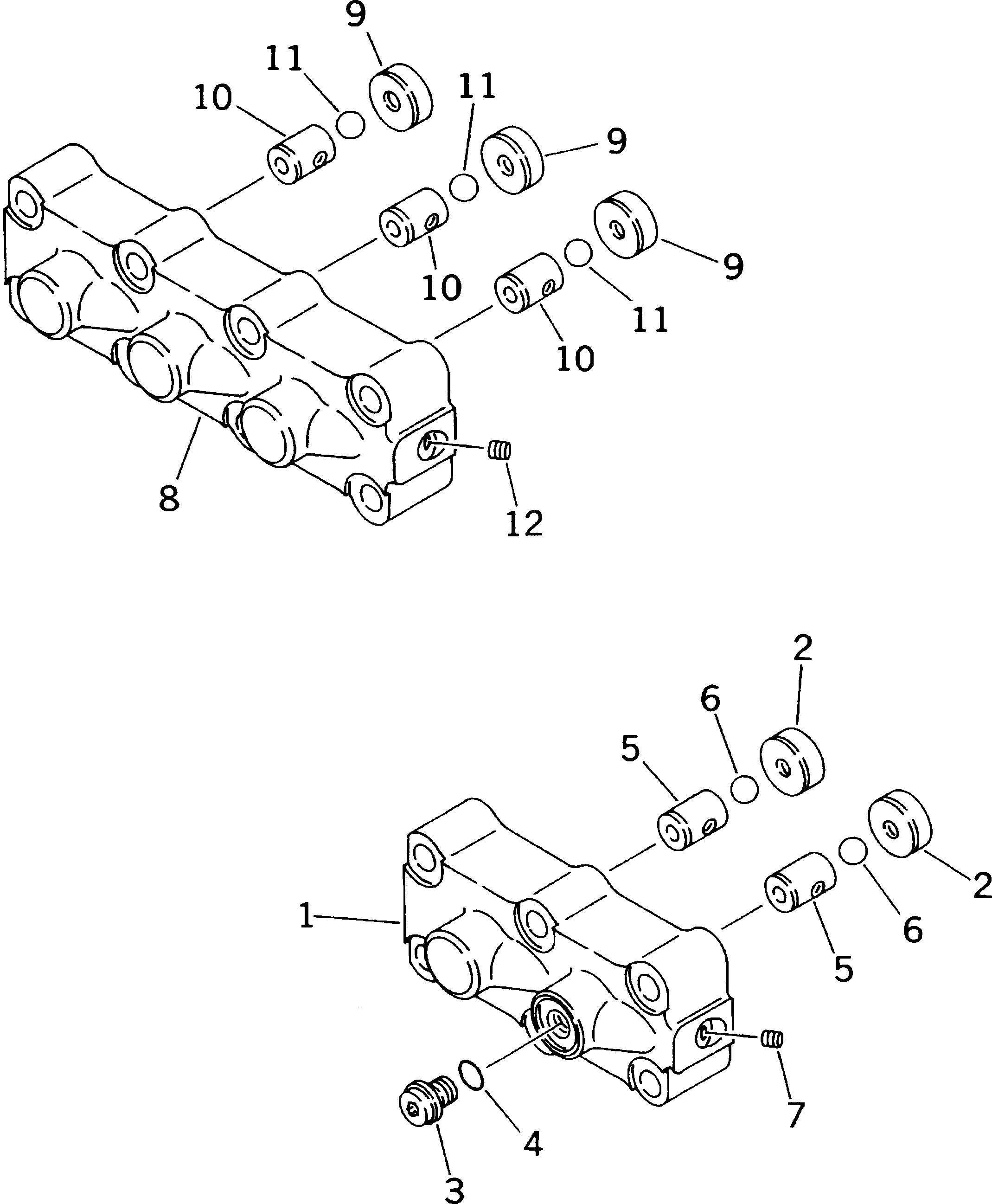
1

CASE

2

SEAT

3

708-8E-16160

PLUG

4

07002-11023

O-RING

5

SEAT

6

BALL

7

PLUG

|8

723-40-66200

VALVE ASS'Y

8

CASE

9

SEAT

10

SEAT

11

BALL

12

PLUG

Выбрано товаров: 21