Запчасти Komatsu PC200LC-6H КАБИНА (ПАНЕЛЬ МОНИТОРА) (АНГЛ.) КАБИНА ОПЕРАТОРА И СИСТЕМА УПРАВЛЕНИЯ

Схема запчастей Komatsu PC200LC-6H - КАБИНА (ПАНЕЛЬ МОНИТОРА) (АНГЛ.) КАБИНА ОПЕРАТОРА И СИСТЕМА УПРАВЛЕНИЯ
FIT
1:1
100%

Артикул

Название

Примечание

Количество

|$7

7834-71-7002

MONITOR ASS'Y

|$8

7834-71-7001

MONITOR ASS'Y

|$9

7834-70-5002

MONITOR ASS'Y

|$10

7834-70-5000

MONITOR ASS'Y

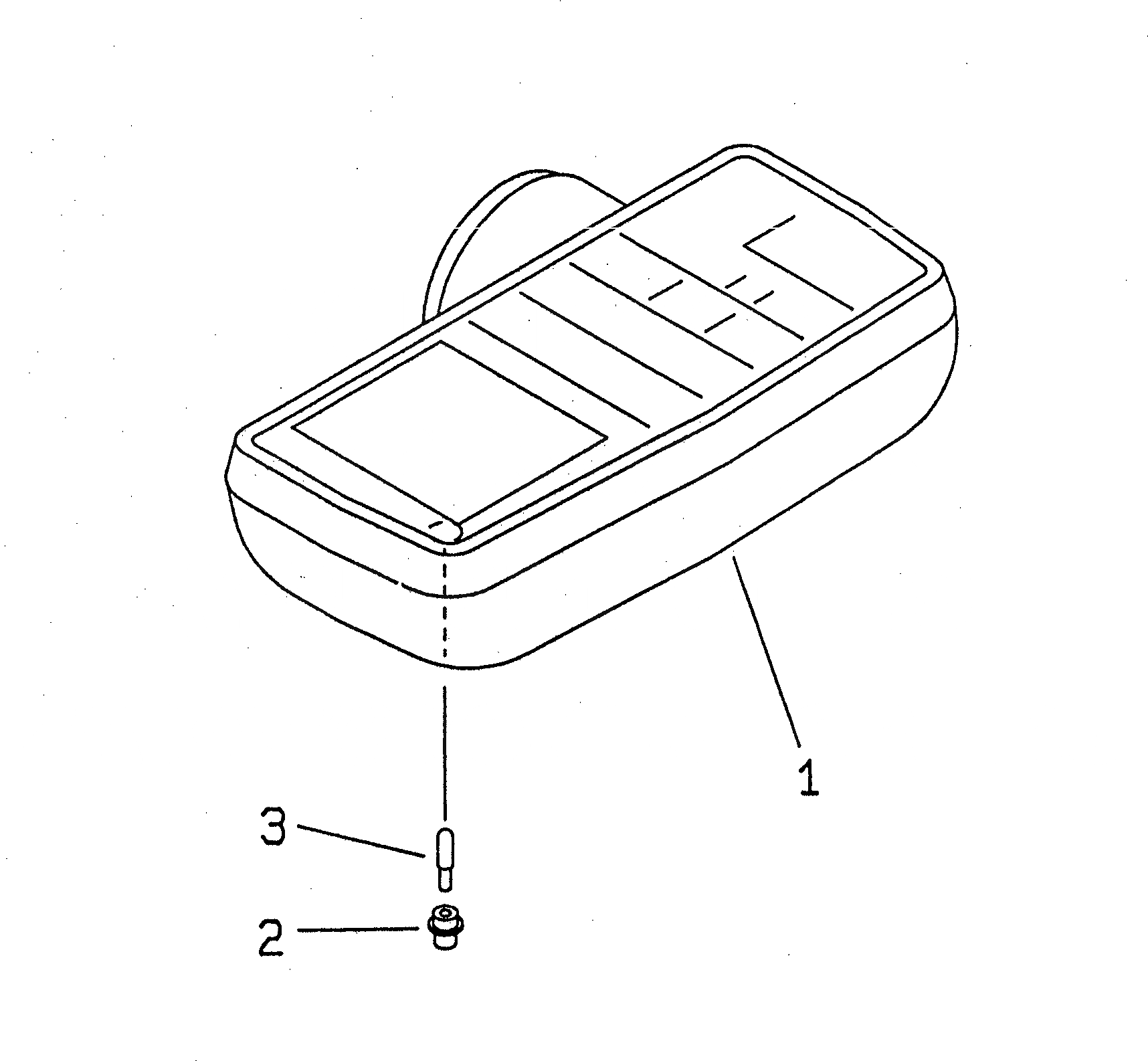
1

7834-70-5102

PANEL ASS'Y

1

7834-70-5100

PANEL ASS'Y

2

7861-01-1820

SOCKET

3

7815-11-1010

BULB, 1.4W

Выбрано товаров: 8