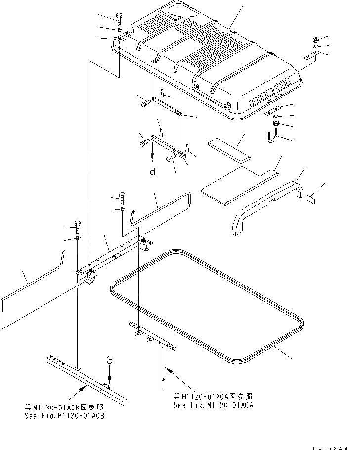
Запчасти Komatsu PC200LC-6H КАПОТ(№-) ЧАСТИ КОРПУСА

Схема запчастей Komatsu PC200LC-6H - КАПОТ(№-) ЧАСТИ КОРПУСА
1
2
3
4
4
5
5
6
6
7
8
9
10
11
12
13
14
15
16
17
17
17
18
18
18
19
19
19
20
20
20
FIT
1:1
100%

Артикул

Название

Примечание

Количество

1

20Y-54-27113

HOOD

2

20Y-54-27123

HINGE (WELDED)

3

20Y-54-27172

U-BOLT

4

20Y-54-27330

PLATE

5

01580-11210

NUT

6

01643-31232

WASHER

7

20Y-54-25541

SHEET

8

20Y-54-25671

SHEET

9

20Y-54-25681

SHEET

10

20Y-54-29291

SEAL

11

22U-54-15190

SHEET

12

20Y-54-25381

FRAME

13

20Y-54-27141

SPRING

14

20Y-54-27131

SPRING

15

20Y-54-27370

STAY

16

20Y-54-27290

STAY

17

04205-11230

PIN

18

04050-13022

PIN

19

01010-81230

BOLT

20

01643-31232

WASHER

Выбрано товаров: 20