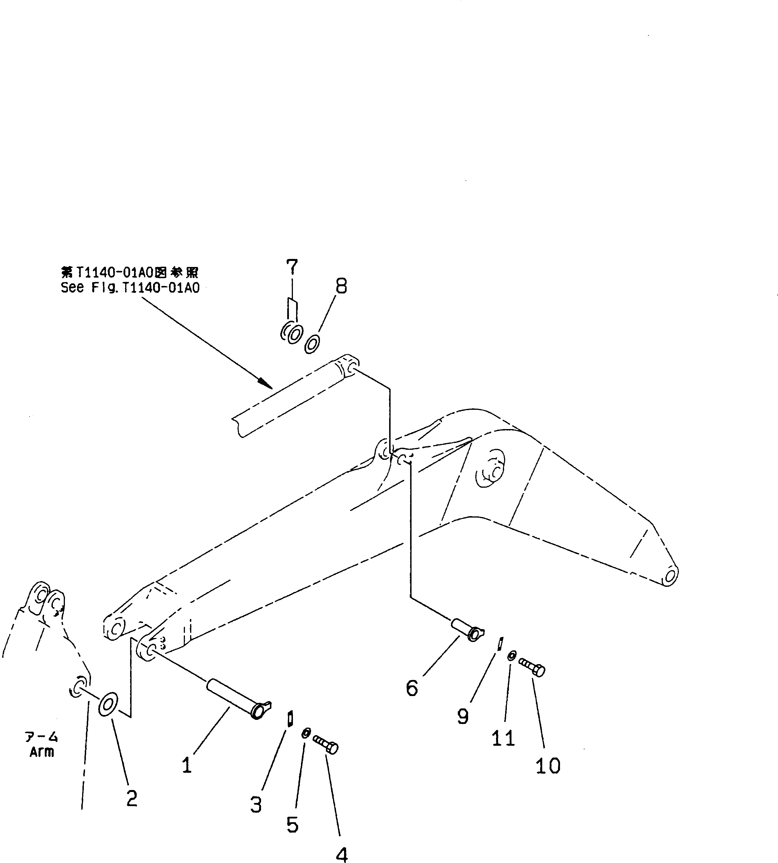
Запчасти Komatsu PC200LC-6H СТРЕЛА (ВЕРХН. ПАЛЕЦ И НИЖН. ПАЛЕЦ) РАБОЧЕЕ ОБОРУДОВАНИЕ

Схема запчастей Komatsu PC200LC-6H - СТРЕЛА (ВЕРХН. ПАЛЕЦ И НИЖН. ПАЛЕЦ) РАБОЧЕЕ ОБОРУДОВАНИЕ
FIT
1:1
100%

Артикул

Название

Примечание

Количество

1

205-70-65680

PIN

2

20Y-70-11360

SPACER, 0.8MM

3

205-70-71310

PLATE

4

01010-81235

BOLT

4

01010-51235

BOLT

5

01643-31232

WASHER

6

20Y-70-11180

PIN

7

20Y-70-11340

SPACER, 0.8MM

8

205-70-51530

SPACER, 1.5MM

9

205-70-66580

PLATE

10

01010-81230

BOLT

10

01010-51235

BOLT

11

01643-31232

WASHER

Выбрано товаров: 13