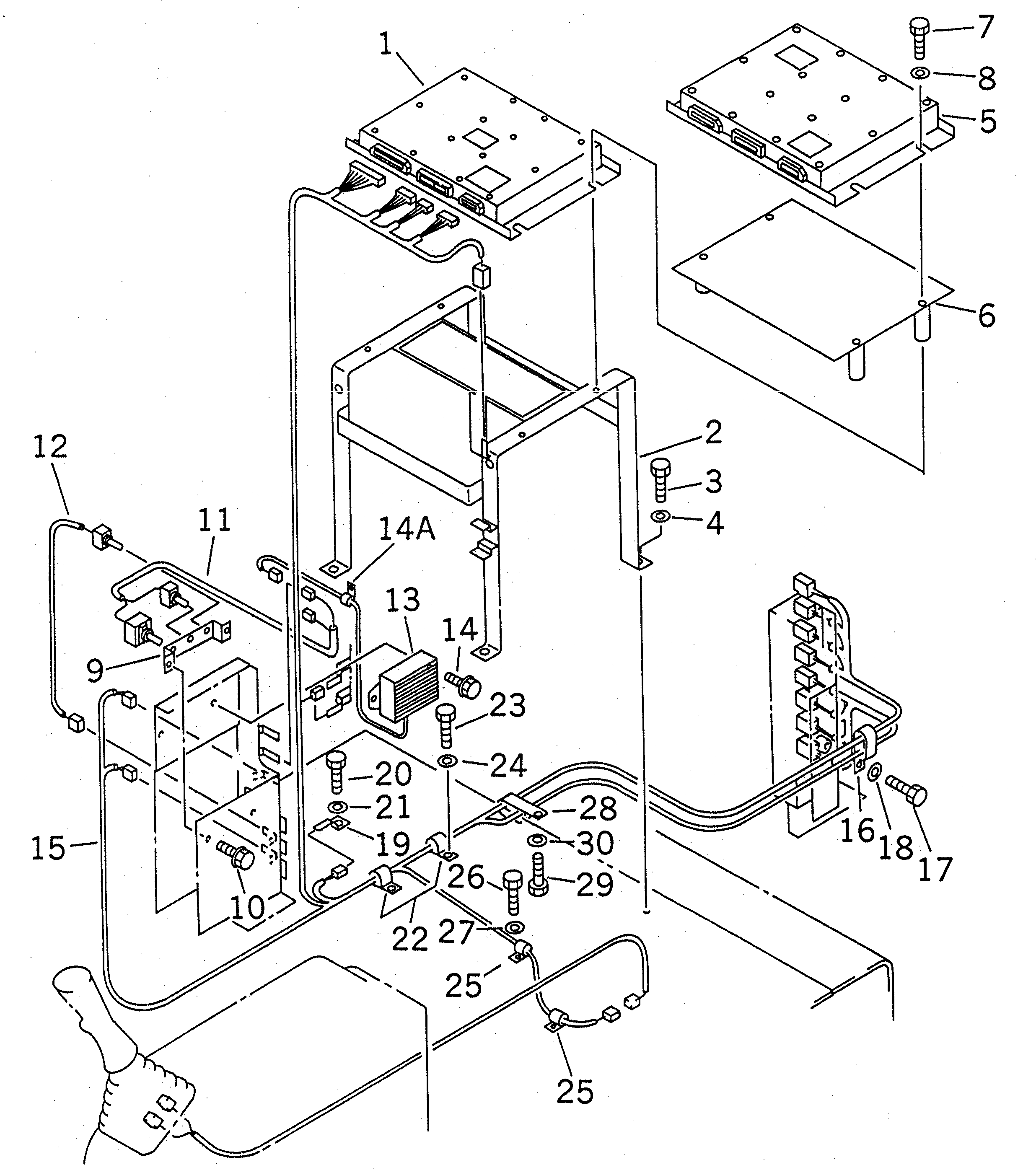
Запчасти Komatsu PC200LC-6H ЭЛЕКТРОПРОВОДКА (ЭЛЕКТРОНН. Э/ПРОВОДКА)(№8-9998) ЭЛЕКТРИКА

Схема запчастей Komatsu PC200LC-6H - ЭЛЕКТРОПРОВОДКА (ЭЛЕКТРОНН. Э/ПРОВОДКА)(№8-9998) ЭЛЕКТРИКА
FIT
1:1
100%

Артикул

Название

Примечание

Количество

1

7834-60-2002

CONTROLLER

1

7834-60-2001

CONTROLLER

1

7834-60-2000

CONTROLLER,EPC

2

20Y-06-22420

BRACKET

3

01010-51025

BOLT

4

01643-31032

WASHER

5

7834-80-2002

CONTROLLER,GX

5

7834-80-2001

CONTROLLER,GX

5

7834-80-9000

CONTROLLER,GX

5

7834-80-2000

CONTROLLER,GX

6

20Y-06-21920

BRACKET

7

01010-51090

BOLT

8

01643-31032

WASHER

9

20Y-06-22480

BRACKET

10

01435-00616

BOLT

11

20Y-06-23590

WIRING HARNESS

12

20Y-06-22460

SWITCH

13

206-06-52130

RESISTOR

14

01435-00816

BOLT

14A

08036-00814

CLIP

15

20Y-06-21142

HARNESS

16

421-07-11550

CLIP

17

01010-51225

BOLT

18

01643-31232

WASHER

19

08053-01512

CLIP

20

01010-51225

BOLT

21

01643-31232

WASHER

22

08036-02514

CLIP

23

01010-51225

BOLT

24

01643-31232

WASHER

25

08036-01214

CLIP

26

01010-51220

BOLT

27

01643-31232

WASHER

28

20Y-06-11630

CLIP

29

01010-51225

BOLT

30

01643-31232

WASHER

Выбрано товаров: 36