Запчасти Komatsu PC200LC-6J PPC ЛИНИЯ ХОДА (С ДОПОЛН. ГИДРОЛИНИЕЙ) ( АКТУАТОР) (КЛАПАН EPC) (РАДИО УПРАВЛ-Е СПЕЦ-Я.)(№8-9998) КАБИНА ОПЕРАТОРА И СИСТЕМА УПРАВЛЕНИЯ

Схема запчастей Komatsu PC200LC-6J - PPC ЛИНИЯ ХОДА (С ДОПОЛН. ГИДРОЛИНИЕЙ) ( АКТУАТОР) (КЛАПАН EPC) (РАДИО УПРАВЛ-Е СПЕЦ-Я.)(№8-9998) КАБИНА ОПЕРАТОРА И СИСТЕМА УПРАВЛЕНИЯ
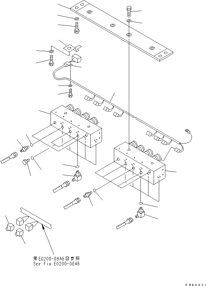
1
1
2
3
4
4
5
5
6
6
7
7
8
9
10
11
12
13
14
15
16
17
18
19
20
21
FIT
1:1
100%

Артикул

Название

Примечание

Количество

1

20Y-62-24630

VALVE ASS'Y

2

01010-51025

BOLT

3

01643-31032

WASHER

4

205-62-55270

NIPPLE

5

07002-01423

O-RING

6

207-62-33920

ELBOW

7

07002-01423

O-RING

8

20Y-62-24641

PLATE

9

01010-51225

BOLT

10

01643-31232

WASHER

11

07040-11409

PLUG

12

07002-01423

O-RING

13

20Y-06-26121

WIRING HARNESS

14

08036-01814

CLIP

15

01010-51220

BOLT

16

01643-31232

WASHER

17

20Y-06-26350

SWITCH

18

20Y-06-26360

SWITCH

19

08053-00912

CLIP

20

01010-51220

BOLT

21

01643-31232

WASHER

Выбрано товаров: 21